Блоки кондиционирования БК-А и БК с условными проходами 10 и 16 мм предназначены для подготовки сжатого воздуха в пневмоприводах различного назначения.
Основные характеристики
Блок БК-А включает в себя пневмораспределитель крановый и блок подготовки воздуха П-ФРК.
Блок БК дополнительно содержит маслораспылитель П-М.
Обозначение | Параметр | |||
Усл.проход,мм | Присоединение | Расход м3/мин | Масса, кг | |
БК-10-1 | 10 | К3/8" | 0,55 | 2,7 |
БК-10-2 | 10 | G3/8-A" | 0,55 | 2,7 |
БК-16-1 | 16 | К1/2" | 1,0 | 2,7 |
БК-16-2 | 16 | G1/2-A" | 1,0 | 2,7 |
БКА-10-1 | 10 | К3/8" | 0,63 | 1,8 |
БКА-10-2 | 10 | G3/8-A" | 0,63 | 1,8 |
БКА-16-1 | 16 | К1/2" | 1,6 | 1,8 |
БКА-16-2 | 16 | G1/2-A" | 1,6 | 1,8 |
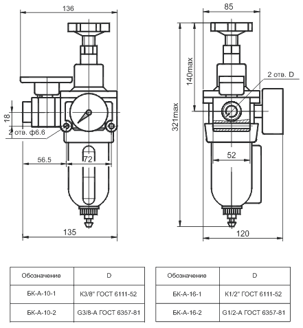
Резьбы К3/8" и К1/2" выполнены по ГОСТ 6111-52.
Резьбы G3/8-А" и G1/2-А" выполнены по ГОСТ 6357-81.
Параметры | Типоразмеры | |||
БК-10-1,2 | БК-10-1,2 | БК-10-1,2 | БК-10-1,2 | |
Номинальное давление, МПа | 1,0 | |||
Минимальное давление на входе, МПа | 0,1 | |||
Расход воздуха при давлении на выходе 0,4 МПа, м3/мин: номин., не менее / миним., не более | 0,55 / 0,16 | 1,0 / 0,16 | 0,55 / 0,16 | 1,0 / 0,16 |
Абсолютная тонкость фильтрации, мкм | 40 | |||
Степень влагоотделения, %, не менее | 90 | |||
Диапазон настойки давления, МПа | 0,05 - 0,90 | |||
Изменение редуцированного давления на выходе при изменении расхода, МПа, не более | 0,04 | 0,05 | 0,04 | 0,05 |
Изменение редуцированного давления на выходе при изменении давления на входе, МПа, не более | 0,035 | |||
Превышение давления на выходе клапана над давлением настройки, при котором открывается клапан сброса воздуха в атмосферу, МПа, не более | 0,06 | |||
Полезная вместимость резервуара для сбора конденсата, см3, не менее | 100 | |||
Отвод конденсата | Полуавтоматический с возможностью ручного | |||
Подача масла, капли/мин: | 2 | 2 | - | - |
Полезная вместимость резервуара для масла, см3, не менее | 200 | 200 | - | - |
Масса,кг | 2,7 | 2,7 | 1,8 | 1,8 |
Габаритный чертеж блока кондиционирования БК

Габаритный чертеж блока кондиционирования БК-А

Устройство и работа
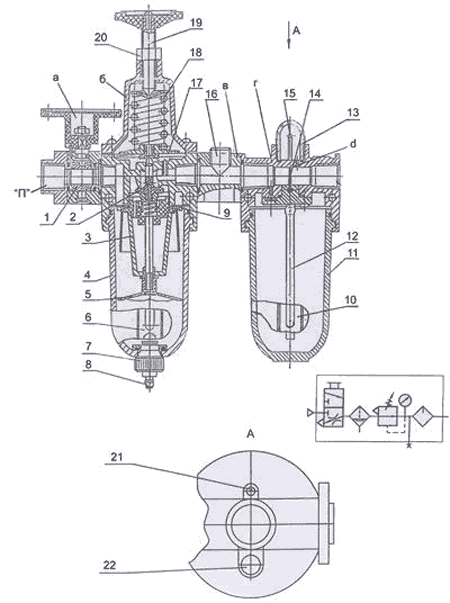
Блок кондиционирования типа БК содержит пневмораспределитель 3/2 крановый, шаровой, блок подготовки воздуха П-ФРК и маслораспылитель ПМ с проставкой между П-ФРК и ПМ для возможности отбора очищенного сжатого воздуха, не содержащего распыленного масла.
Устройство блока кондиционировнаия БК

Устройство блока кондиционировнаия БК-А

Из пневмосети сжатый воздух поступает во входное отверстие «П» пневмораспределителя кранового трехлинейного (a). При открытом положении клапана 1 сжатый воздух поступает во входное отверстие блока подготовки воздуха (b), представляющий собой комбинированный аппарат фильтр-регулятор (П-ФРК по ТУ 4151-005.00221287-97).
Проходя через щели крыльчатки 9, сжатый воздух получает нисходящее вращательное движение, в результате чего происходит отделение капельной влаги и механических примесей, которые отбрасываются к стенкам стакана 4 и опускаются вниз в спокойную зону, отделенную заслонкой 5.
Очищенный от жидкой влаги воздух проходит через металлокерамический фильтр 3, очищается от твердых загрязнений и поступает во входную полость редукционного клапана, предназначенного для настройки давления на выходе и автоматического поддержания его на заданном уровне.
Для настройки служит винт с маховичком 19 при вращении которого изменяется сила пружины 18, воздействующая на мембрану 17 и через нее на дросселирующий клапан 2, проходное сечение которого непостоянно и зависит от внешних воздействий. Степень открытия дросселирующего клапана определяет уровень давления сжатого воздуха на входе блока кондиционирования.
Сжатый воздух после прохождения через дросселирующий клапан 2 и вставку (c), имеющую отверстие для отбора сжатого воздуха без смазочного материала и закрытого пробкой 16, поступает во входное отверстие маслораспылителя (d). Отгибая эластичную шторку 14, сжатый воздух проходит к выходному отверстию К.
Смазочный материал из стакана 11, благодаря перепаду давления на входе и выходе маслораспылителя, подается по трубке 12 через дроссель 21 и трубку 15 под прозрачный колпачок 13, служащий для визуального контроля каплепадения, откуда через отверстие d распыляется в выходном потоке сжатого воздуха.
Дроссель 21 позволяет настраивать требуемую подачу смазочного материала в пределах заданного диапазона. Отверстие для залива смазочного материала закрыто пробкой 22.
В нижней части стакана 4 блока подготовки воздуха расположено устройство 7 для удаления накопившейся капельной влаги и механических примесей, открываемое пружиной при давлении в стакане менее 0,1 МПа, либо вручную при давлении в стакане от 0,1 МПа до 1,0 МПа путем нажатия снизу вверх на штуцер 8.
В металлических стаканах 4 и 11 имеются глазки 6 и 10, позволяющие следить за уровнем накопившихся загрязнений или смазочного материала.
Блоки кондиционирования функционируют в вертикальном положении, резервуарами вниз.
Крепление блоков кондиционирования производится к вертикальной стенке или кронштейну через отверстия диаметром 6,6 мм в корпусе фильтра регулятора и маслораспылителя. Установка манометра производится в отверстие после откручивания одной из двух пробок в корпусе фильтра-регулятора (b).
Перед началом эксплуатации залить смазочный материал в маслораспылитель(d), открыв пробку 22. Уровень смазочного материала должен контролироваться через глазок 10 и находиться между красными рисками.
После подсоединения блоков кондиционирования к пневмосистеме необходимо при установившемся расходе установить рабочее давление в системе винтом с маховичком 19, контролируя его по манометру, и настроить каплепадение маслораспылителя дросселем 21, наблюдая через колпачок 13.
Указания по применению
Блоки кондиционирования рассчитаны для работы на сжатом воздухе давлением от 0,1 МПа до 1,0 МПа, очищенном не грубее 12 класса по ГОСТ 17433.
Блоки кондиционирования должны устанавливаться в местах, удобных для осмотра, обслуживания и контроля параметров в вертикальном положении (отклонение от вертикали не более 5 градусов), непосредственно на трубопроводе или с использованием крепёжных отверстий.
При монтаже блоков кондиционирования стрелка на их корпусе должна совпадать с направлением движения воздушного потока.
Варианты исполнения
Климатическое исполнение УХЛ и О, категория размещения 4 по ГОСТ 15150.
Обозначение | Варианты исполнения |
БК-ХХ-Х-ХХХ Х | Условный проход, мм |
БК-ХХ-Х-ХХХ Х | Присоединение: |
БК-ХХ-Х-ХХХ Х | Климатическое исполнение (УХЛ, О) и категория размещения (4) по ГОСТ 15150 |
Пример обозначения при заказе
Пример записи условного обозначения блока с условным проходом 10 мм, присоединительной резьбой К 3/8" по ГОСТ 6111, климатическое исполнение УХЛ, категория размещения 4:
БК-10-1-УХЛ4 ТУ4151-006-00221287-98
Пример записи условного обозначения блока БК-А с условным проходом 10 мм, присоединительной резьбой К 3/8" по ГОСТ 6111, климатическое исполнение УХЛ, категория размещения 4:
БК-А-10-1 -УХЛ4 ТУ4151-006-00221287-98
ДОСТАВКА
Вы можете выбрать любой наиболее удобный способ из перечисленных ниже:
Доставка до терминала ТК «Деловые линии» осуществляется нами бесплатно.
ОПЛАТА
Мы принимаем оплату:
Цены на поставляемые нами товар всегда ниже, чем у наших конкурентов.
Условия гарантийного обслуживания
Гарантия не распространяется на ущерб, причиненный другому оборудованию, работающему вместе с данным изделием.
Центр измерительной техники «Эталонприбор» располагает своим собственным ремонтным сервисом, где Вы можете получить услуги по: ремонту, наладке, калибровке, гарантийному и послегарантийному обслуживанию измерительного оборудования, как приобретенного у нас, так и у других поставщиков. Сервис работает на основе лицензии, выданной Ростехрегулированием РФ.
