Муфта вводная МВ-50 У2 предназначена для закрепления металлорукава Р3ЦХ (Р3ЦП, МРПИ) или шланга электромонтажного (ШЭМ) в оболочке электрооборудования.
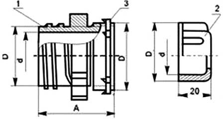
Присоединительный размер муфты D | 1 1/2 дюйма |
A | 60 мм |
d | 40 мм |
D1 | 68 мм |
Масса | 0,164 кг |

Схема - габаритные размеры
Муфта состоит из вводного штуцера 1, колпачка 2, установочной гайки 3.
Муфта вводная имеет трубную цилиндрическую резьбу - G!
ДОСТАВКА
Вы можете выбрать любой наиболее удобный способ из перечисленных ниже:
Доставка до терминала ТК «Деловые линии» осуществляется нами бесплатно.
ОПЛАТА
Мы принимаем оплату:
Цены на поставляемые нами товар всегда ниже, чем у наших конкурентов.
Условия гарантийного обслуживания
Гарантия не распространяется на ущерб, причиненный другому оборудованию, работающему вместе с данным изделием.
Центр измерительной техники «Эталонприбор» располагает своим собственным ремонтным сервисом, где Вы можете получить услуги по: ремонту, наладке, калибровке, гарантийному и послегарантийному обслуживанию измерительного оборудования, как приобретенного у нас, так и у других поставщиков. Сервис работает на основе лицензии, выданной Ростехрегулированием РФ.
