Электромагнит КЭП 350 предназначен для применения в качестве исполнительного механизма в тормозных устройствах эскалаторов и других подъёмно-транспортных машин.
| Номинальное напряжение, В | 220 50ГЦ, 380 50Гц |
| Номинальное тяговое усилие, не менее, Н | 350 |
| Номинальный ход якоря, мм | 50 |
| Время срабатывания при ном. ходе якоря, не более, с | 0,35 |
| Время возврата при ном. ходе якоря, не более, с * | 0,15 |
| Потребл. мощность в режиме удержания, не более, Вт | 20 |
| Допускаемое число включений в час, не более | 300 |
| Масса якоря электромагнита, не более, кг | 1,2 |
| Масса, кг | 10,5 |
*Время возврата якоря гарантируется при нагрузке электромагнита равной 0,7 номинального тягового усилия и номинальном напряжении питания.
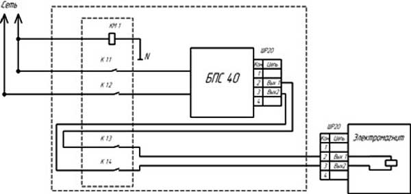
Электромагнит КЭП заменяет тормозные электромагниты КМТ, КМТД. Для обеспечения работоспособности электромагнитов в продолжительном режиме ПВ 100% их запитывают через специальный блок питания, в дальнейшем БПС (БПС-25, БПС-40).
Принцип работы электромагнита в этом режиме основан на том, что при перемещении полезного груза на большое расстояние (величину рабочего хода) требуется большая работа (мощность).
После перемещения груза требуемая мощность значительно меньше, так как якорь находится в непосредственной близости от стопового фланца.
Блок питания обеспечивает переключение напряжения после перемещения груза до такой величины, при которой электромагнит может находиться во включенном состоянии, не ограничено долго.
Блок электронного управления электромагнита после втягивания якоря переключает его в режим удержания, что значительно снижает энергопотребление. Вывод катушки выполнен штепсельным разъемом ШР 20.
Климатическое исполнение У3; Т3; УХЛ 4 по ГОСТ 15150.

Схема подключения электромагнита

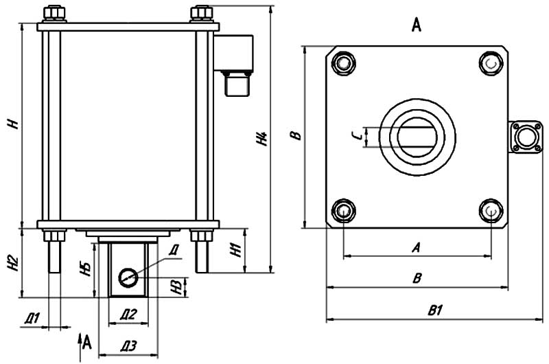
Габаритная схема электромагнита
А, мм | 82 |
В, мм | 100 |
В1, мм | 127 |
С, мм | 12 |
Д, мм | 12 |
Д1, мм | М8 |
Д2, мм | 25 |
Д3, мм | - |
Н, мм | 186 |
Н1, мм | 23 |
Н2, мм | 35 |
Н3, мм | 12 |
Н4, мм | - |
Н5, мм | - |
ДОСТАВКА
Вы можете выбрать любой наиболее удобный способ из перечисленных ниже:
Доставка до терминала ТК «Деловые линии» осуществляется нами бесплатно.
ОПЛАТА
Мы принимаем оплату:
Цены на поставляемые нами товар всегда ниже, чем у наших конкурентов.
Условия гарантийного обслуживания
Гарантия не распространяется на ущерб, причиненный другому оборудованию, работающему вместе с данным изделием.
Центр измерительной техники «Эталонприбор» располагает своим собственным ремонтным сервисом, где Вы можете получить услуги по: ремонту, наладке, калибровке, гарантийному и послегарантийному обслуживанию измерительного оборудования, как приобретенного у нас, так и у других поставщиков. Сервис работает на основе лицензии, выданной Ростехрегулированием РФ.
