Электромагнит МП-301-1 предназначен для выполнения дистанционного управления работой различных механизмов.
В основном этот тип магнитных систем рассчитан для работы с электроприводами крановых механизмов, снабженных колодочными пружинными тормозами из ТК-серии. Кроме крановых механизмов ПМ-магниты широко используют и для управления другого типа исполнительных механизмов.
Продолжительность включения | 25% | 40% | 100% |
Номинальное тяговое усилие, Н | 2000 | 1650 | 700 |
Номинальный ход якоря, мм | 4,5 | ||
Время срабатывания, С | 0,35 | 0,55 | 0,65 |
Время возврата, С | 0,23 | ||
Номинальная частота включений, вкл./ч | 650 | 1000 | 2000 |
Номинальная потребляемая мощность, Вт | 100 | 260 | 400 |
Масса электромагнита, кг | 20,5 | ||
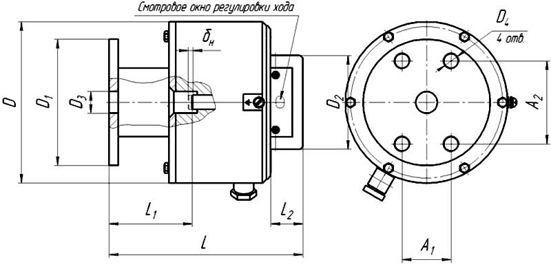
Для регулировки рабочего хода в задней части магнита МП имеются смотровые отверстия, благодаря которым можно выставлять и контролировать величину якорного хода. Значение хода определяется величиной зазора, расположенного между корпусом и фланцем упорного типа. Выставляется зазор согласно техническому паспорту изделия посредством передвижения тормозного штока вглубь магнита.
При подаче на рабочую катушку магнита МП напряжения происходит возбуждение в ее витках тока, который генерирует магнитный поток. Под воздействием сформированного магнитного поля якорь перемещается в сторону фланца. При этом, якорь, соединенный через тягу с исполнительным механизмом приводит в действие элементы этого механизма, который параллельно сжимает возвратную пружину. Сжатие пружины приводит к освобождению тормозных колодок, которые расходятся, обеспечивая расторможение шкива.
При отключении подачи питания к электромагниту, рычаг, под действием возвратной пружины, перемещает якорь в исходное положение.

Габаритный чертеж электромагнит
δн, мм | 4,5 |
A1, мм | 54 |
A2, мм | 92 |
D, мм | 178 |
D1, мм | 140 |
D2, мм | 108 |
D3, мм | 120 |
L, мм | 210 |
L1, мм | 90 |
L2, мм | 34 |
ДОСТАВКА
Вы можете выбрать любой наиболее удобный способ из перечисленных ниже:
Доставка до терминала ТК «Деловые линии» осуществляется нами бесплатно.
ОПЛАТА
Мы принимаем оплату:
Цены на поставляемые нами товар всегда ниже, чем у наших конкурентов.
Условия гарантийного обслуживания
Гарантия не распространяется на ущерб, причиненный другому оборудованию, работающему вместе с данным изделием.
Центр измерительной техники «Эталонприбор» располагает своим собственным ремонтным сервисом, где Вы можете получить услуги по: ремонту, наладке, калибровке, гарантийному и послегарантийному обслуживанию измерительного оборудования, как приобретенного у нас, так и у других поставщиков. Сервис работает на основе лицензии, выданной Ростехрегулированием РФ.
