Контакторы электромагнитные КТ-6050, КТП-6050 открытого исполнения с естественным воздушным охлаждением предназначены для включения и отключения приемников электрической энергии.
| Контактор электромагнитный | 1 |
| Дистанционные колодки для контакторов, устанавливаемый на плите | 2 |
| Техническое описание и инструкция по эксплуатации на партию контакторов не более 20 шт. | 1 |
| Комплект ЗИП согласно ведомости ЗИП | по отдельному заказу |
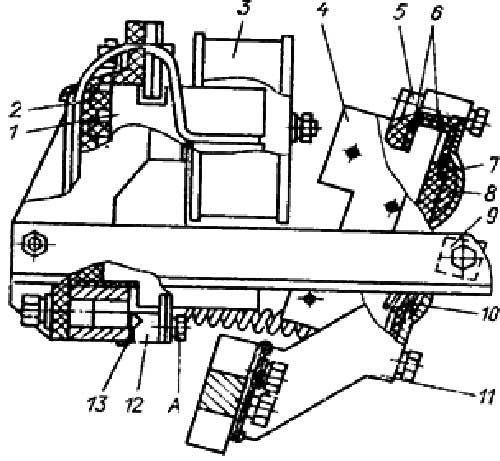
Контактор состоит из таких основных частей: контактно-дугогасительной системы, главной цепи, электромагнитного механизма включения и блок-контактов вспомогательной цепи.
Принцип работы контактора заключается в следующем: при подаче напряжения на катушку электромагнита переменного тока или постоянного тока последняя возбуждает магнитный поток, под действием которого якорь контактора, закрепленный на валу, притягивается к сердечнику и перемещает подвижную систему главных контактов до замыкания с неподвижными контактами.
Втулка выступающей частью при повороте вала на осях подшипника перемещает траверсу блок-контакта.
Происходит замыкание или размыкание вспомогательных контактов.
При снятии напряжения с втягивающей катушки подвижная система контактора под действием возвратных пружин возвращается в исходное положение.

Схема - Электромагнит переменного тока контакторов КТ-6050, КТП-6050
Конструкция электромагнита переменного тока:

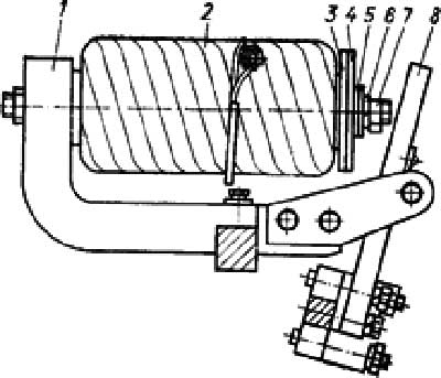
Схема - Электромагнит постоянного тока контактора КТ-6050, КТП-6050
Конструкция электромагнита постоянного тока:
Перед установкой и монтажом контактора:
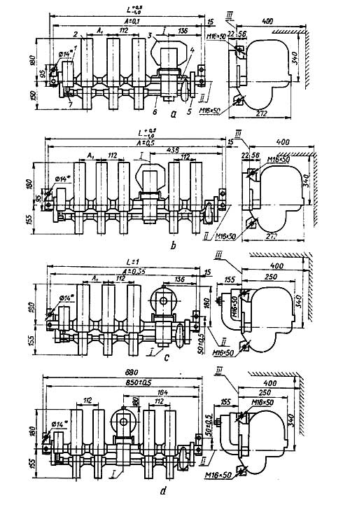
Тип контактора | Количество полюсов | Раствор главных контактов, мм | Зазор, контро-лирующий провал главных контактов, мм | Усилие нажатия в месте контроля, кгс | |
начальное | конечное | ||||
КТ6052Б | 2 | 10...12,5 | 3,8... 4,1 | 9,4... 10,4 | 18,2... 22 |
КТ6053Б | 3 | ||||
КТ6054Б | 4 | 6,5 ... 7,1 | 12,8... 15,7 | ||
КТ6055Б | 5 | 4,7 ... 5,2 | 10,7... 13,7 | ||
Контактор устанавливается в закрытом помещении на вертикальной плоскости открытой панели или в оболочке. Допускается отклонение от вертикального положения не более чем на 5 ° в любую сторону. Место установки должно быть защищено от прямого попадания воды, масла, эмульсии и т. п.
После окончания монтажа контактора проверьте правильность монтажа по схеме при обесточенной цепи, готовность к работе двумя-тремя дистанционными включениями и отключеньями.
Режим работы контакторов:
Контакторы могут работать при напряжении на зажимах главной цепи 0.1…1.1 и цепи управления 0.85…1.1 номинального напряжения соответствующих цепей.
Степень защиты контакторов — IPOO.

Габаритные и установочные размеры контакторов
Тип контактора | Размер мм | ||
А | А1 | L | |
КТ6052Б | 550 650 | — 112 | 580 680 |
КТ6054Б | 850 950 | — 112 | 880 980 |
КТП6052Б | 550 650 | — 112 | 580 680 |
ДОСТАВКА
Вы можете выбрать любой наиболее удобный способ из перечисленных ниже:
Доставка до терминала ТК «Деловые линии» осуществляется нами бесплатно.
ОПЛАТА
Мы принимаем оплату:
Цены на поставляемые нами товар всегда ниже, чем у наших конкурентов.
Условия гарантийного обслуживания
Гарантия не распространяется на ущерб, причиненный другому оборудованию, работающему вместе с данным изделием.
Центр измерительной техники «Эталонприбор» располагает своим собственным ремонтным сервисом, где Вы можете получить услуги по: ремонту, наладке, калибровке, гарантийному и послегарантийному обслуживанию измерительного оборудования, как приобретенного у нас, так и у других поставщиков. Сервис работает на основе лицензии, выданной Ростехрегулированием РФ.
