Преобразователь MDC2-11 предназначен для электроприводов главного движений металлорежущих станков с ЧПУ.
Тип дросселя | PK-0548 | |
Тип двигателя | MP 132M | MP 132MA |
Мощность, кВт | 11 | 11 |
Номинальное питающее напряжение, В | 3х380 (при 50 Гц) | |
Номинальный ток преобразователя, А | 34 | |
Максимальный ток якоря, А | 68 | |
Максимальное напряжение на якоре, В | 400 | |
Номинальный ток возбуждения, А | 5,8 (3,5) | |
Максимальное напряжение возбуждения, В | 110 (180) | |
Номинальная скорость вращения, об/мин | 1000 | |
Максимальная скорость, об/мин | 3500 (4500) | |
Диапазон регулирования скорости | 1:1000 | |
Управляющее напряжение, В | ±10 | |
Степень защиты | IP20 | |
Масса привода, кг | 5,7 | |

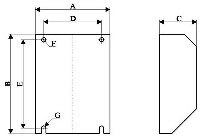
Схема - габаритные размеры преобразователя
A, мм | 190 |
B, мм | 380 |
C, мм | 125 |
D, мм | 150 |
E, мм | 355 |
F, мм | 10 |
ДОСТАВКА
Вы можете выбрать любой наиболее удобный способ из перечисленных ниже:
Доставка до терминала ТК «Деловые линии» осуществляется нами бесплатно.
ОПЛАТА
Мы принимаем оплату:
Цены на поставляемые нами товар всегда ниже, чем у наших конкурентов.
Условия гарантийного обслуживания
Гарантия не распространяется на ущерб, причиненный другому оборудованию, работающему вместе с данным изделием.
Центр измерительной техники «Эталонприбор» располагает своим собственным ремонтным сервисом, где Вы можете получить услуги по: ремонту, наладке, калибровке, гарантийному и послегарантийному обслуживанию измерительного оборудования, как приобретенного у нас, так и у других поставщиков. Сервис работает на основе лицензии, выданной Ростехрегулированием РФ.
