Преобразователь MDC2-45 предназначен для электроприводов главного движений металлорежущих станков с ЧПУ.
Тип дросселя | PK-021320 |
Тип двигателя | MP 160 LM; MP 160LC |
Мощность, кВт | 45 |
Номинальное питающее напряжение, В | 3х380 (при 50 Гц) |
Номинальный ток преобразователя, А | 250 |
Максимальный ток якоря, А | 200 |
Максимальное напряжение на якоре, В | 400 |
Номинальный ток возбуждения, А | 4 |
Максимальное напряжение возбуждения, В | 180 |
Номинальная скорость вращения, об/мин | 2000 |
Максимальная скорость, об/мин | 4000 |
Диапазон регулирования скорости | 1:1000 |
Управляющее напряжение, В | ±10 |
Степень защиты | IP20 |
Масса привода, кг | 26,5 |

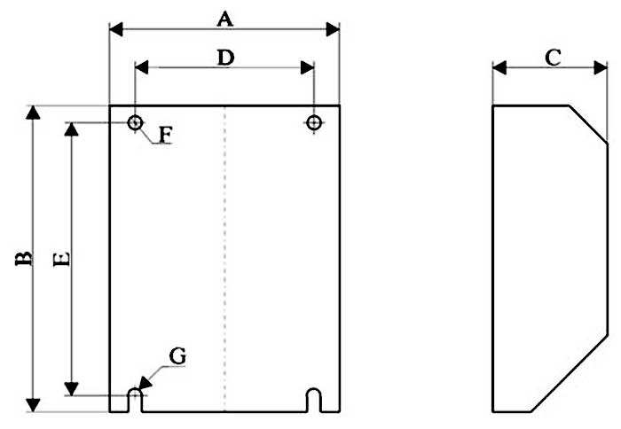
Схема - габаритные размеры преобразователя
A, мм | 265 |
B, мм | 465 |
C, мм | 280 |
D, мм | 240 |
E, мм | 445 |
F, мм | 8 |
ДОСТАВКА
Вы можете выбрать любой наиболее удобный способ из перечисленных ниже:
Доставка до терминала ТК «Деловые линии» осуществляется нами бесплатно.
ОПЛАТА
Мы принимаем оплату:
Цены на поставляемые нами товар всегда ниже, чем у наших конкурентов.
Условия гарантийного обслуживания
Гарантия не распространяется на ущерб, причиненный другому оборудованию, работающему вместе с данным изделием.
Центр измерительной техники «Эталонприбор» располагает своим собственным ремонтным сервисом, где Вы можете получить услуги по: ремонту, наладке, калибровке, гарантийному и послегарантийному обслуживанию измерительного оборудования, как приобретенного у нас, так и у других поставщиков. Сервис работает на основе лицензии, выданной Ростехрегулированием РФ.
