Дифференциальные гидравлические цилиндры ГЦ-25 являются объёмными гидродвигателями, предназначенными для преобразования энергии потока рабочей жидкости в механическую энергию выходного звена.
Структура условного обозначения гидроцилиндра - ГЦ-25-80.56.160.ПА+ПВ:
Рабочий процесс объёмного гидродвигателя основан на попеременном заполнении рабочей камеры маслом в вытеснении его из рабочей камеры.
Гидроцилиндры могут быть одностороннего и двухстороннего действия, поршневые с односторонним или двухсторонним штоком и телескопические.
В гидроцилиндрах двухстороннего действия обратный ход совершается под действием рабочей среды (как и прямой ход).

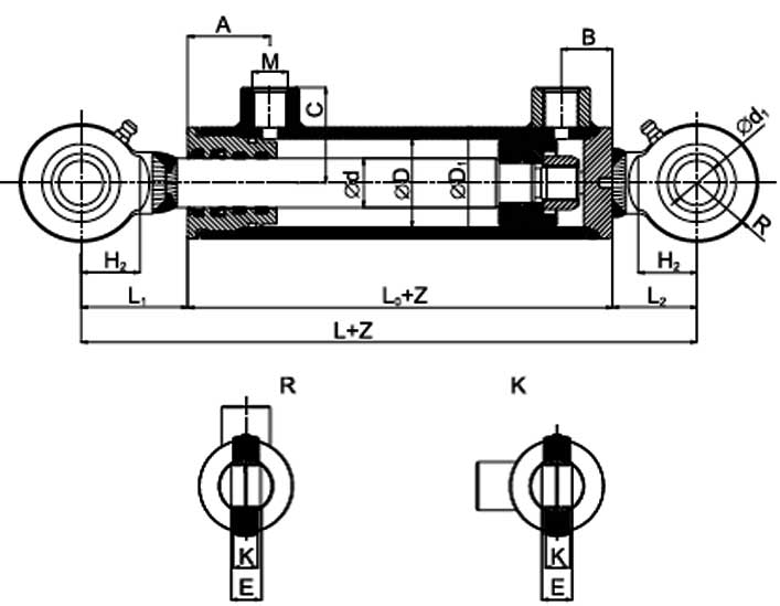
Конструктивная схема гидроцилиндра
ØD | Ød | ØD1 | Ød1 | L | L0 | L1 | L2 | L3 |
25 | 12 | 35 | 12 | 142 | 80 | 44 | 18 |
|
25 | 14 | 35 | 12 | 142 | 80 | 44 | 18 |
|
32 | 18 | 42 | 20 | 170 | 90 | 45 | 35 | 32 |
32 | 20 | 42 | 20 | 170 | 90 | 45 | 35 | 32 |
40 | 22 | 50 | 20 | 170 | 90 | 45 | 35 | 32 |
40 | 25 | 50 | 20 | 170 | 90 | 45 | 35 | 32 |
50 | 25 | 60 | 25 | 190 | 102 | 50 | 38 | 33 |
50 | 28 | 60 | 25 | 190 | 102 | 50 | 38 | 33 |
63 | 32 | 75 | 25 | 215 | 116 | 57 | 42 | 37 |
63 | 36 | 75 | 25 | 215 | 116 | 57 | 42 | 37 |
70 | 36 | 85 | 30 | 235 | 125 | 65 | 45 | 45 |
70 | 40 | 85 | 30 | 235 | 125 | 65 | 45 | 45 |
80 | 40 | 95 | 30 | 240 | 130 | 65 | 45 | 45 |
80 | 45 | 95 | 30 | 240 | 130 | 65 | 45 | 45 |
90 | 45 | 105 | 35 | 275 | 140 | 80 | 55 | 54 |
90 | 50 | 105 | 35 | 275 | 140 | 80 | 55 | 54 |
100 | 50 | 120 | 40 | 300 | 155 | 85 | 60 | 57 |
100 | 55 | 120 | 40 | 300 | 155 | 85 | 60 | 57 |
110 | 55 | 130 | 45 | 345 | 185 | 95 | 65 | 67 |
110 | 63 | 130 | 45 | 345 | 185 | 95 | 65 | 67 |
125 | 63 | 145 | 50 | 417 | 242 | 105 | 70 | 70 |
125 | 70 | 145 | 50 | 417 | 242 | 105 | 70 | 70 |
140 | 70 | 160 | 60 | 457 | 252 | 115 | 90 | 78 |
140 | 80 | 160 | 60 | 457 | 252 | 115 | 90 | 78 |
160 | 80 | 180 | 70 | 510 | 280 | 130 | 100 | 87 |
160 | 90 | 180 | 70 | 510 | 280 | 130 | 100 | 87 |
180 | 90 | 210 | 90 | 547 | 262 | 155 | 130 | 113 |
180 | 100 | 210 | 90 | 547 | 262 | 155 | 130 | 113 |
200 | 100 | 245 | 100 | 602 | 302 | 160 | 140 | 123 |
200 | 110 | 245 | 100 | 602 | 302 | 160 | 140 | 123 |
L4 | M | A | B | C | E | K | R |
18 | 10x1 | 36 | 15 | 29.5 | 10 | 9 | 17.5 |
18 | 10x1 | 36 | 15 | 29.5 | 10 | 9 | 17.5 |
31 | 12x1.5 | 36 | 17 | 39 | 16 | 14 | 27.5 |
31 | 12x1.5 | 36 | 17 | 39 | 16 | 14 | 27.5 |
31 | 16x1.5 | 36 | 17 | 43 | 16 | 14 | 27.5 |
31 | 16x1.5 | 36 | 17 | 43 | 16 | 14 | 27.5 |
33 | 16x1.5 | 43 | 16 | 48 | 20 | 18 | 32.5 |
33 | 16x1.5 | 43 | 16 | 48 | 20 | 18 | 32.5 |
37 | 16x1.5 | 50 | 23 | 55.5 | 20 | 18 | 35 |
37 | 16x1.5 | 50 | 23 | 55.5 | 20 | 18 | 35 |
39 | 22x1.5 | 54 | 25 | 60.5 | 22 | 20 | 42.5 |
39 | 22x1.5 | 54 | 25 | 60.5 | 22 | 20 | 42.5 |
39 | 22x1.5 | 59 | 25 | 65.5 | 22 | 20 | 42.5 |
39 | 22x1.5 | 59 | 25 | 65.5 | 22 | 20 | 42.5 |
49 | 22x1.5 | 64 | 27 | 70.5 | 25 | 25 | 47.5 |
49 | 22x1.5 | 64 | 27 | 70.5 | 25 | 25 | 47.5 |
54 | 27x2 | 73 | 31 | 82 | 28 | 25 | 52.5 |
54 | 27x2 | 73 | 31 | 82 | 28 | 25 | 52.5 |
57 | 27x2 | 78 | 38 | 87 | 32 | 30 | 60 |
57 | 27x2 | 78 | 38 | 87 | 32 | 30 | 60 |
62 | 33x2 | 95 | 50 | 94.5 | 35 | 30 | 62.5 |
62 | 33x2 | 95 | 50 | 94.5 | 35 | 30 | 62.5 |
80 | 33x2 | 95 | 61 | 102 | 44 | 40 | 80 |
80 | 33x2 | 95 | 61 | 102 | 44 | 40 | 80 |
85 | 33x2 | 105 | 68 | 112 | 49 | 45 | 90 |
85 | 33x2 | 105 | 68 | 112 | 49 | 45 | 90 |
113 | 42x2 | 100 | 75 | 130 | 60 | 55 | 110 |
113 | 42x2 | 100 | 75 | 130 | 60 | 55 | 110 |
123 | 42x2 | 120 | 85 | 145 | 70 | 60 | 120 |
123 | 42x2 | 120 | 85 | 145 | 70 | 60 | 120 |
ДОСТАВКА
Вы можете выбрать любой наиболее удобный способ из перечисленных ниже:
Доставка до терминала ТК «Деловые линии» осуществляется нами бесплатно.
ОПЛАТА
Мы принимаем оплату:
Цены на поставляемые нами товар всегда ниже, чем у наших конкурентов.
Условия гарантийного обслуживания
Гарантия не распространяется на ущерб, причиненный другому оборудованию, работающему вместе с данным изделием.
Центр измерительной техники «Эталонприбор» располагает своим собственным ремонтным сервисом, где Вы можете получить услуги по: ремонту, наладке, калибровке, гарантийному и послегарантийному обслуживанию измерительного оборудования, как приобретенного у нас, так и у других поставщиков. Сервис работает на основе лицензии, выданной Ростехрегулированием РФ.
