Вибратор пневматический кольцевой ВПК-1200 предназначен для вибрационной обработки любых видов промышленных материалов, которые могут подвергаться перемещению, уплотнению или сепарированию.
| Модель | При давлении 3 бар | При давлении 4 бар | При давлении 6 бар | ||||||
| Частота, Гц | Сила, Н | Расход, нл/мин | Частота, Гц | Сила, Н | Расход, нл/мин | Частота, Гц | Сила, Н | Расход, нл/мин | |
| ВПК1200 | 130 | 8900 | 2059 | 150 | 13950 | 2376 | 167 | 17290 | 2645 |
Примеры применений вибратора пневматического кольцевого ВПК-1200:
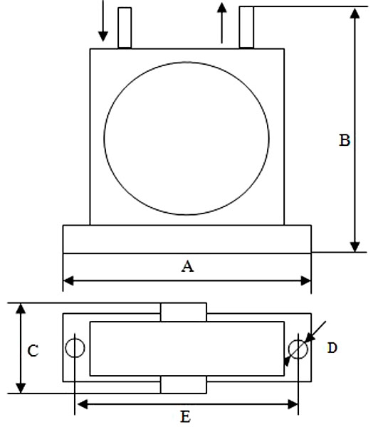
| Модель | А, мм | В, мм | С, мм | D, мм | Е, мм | Масса, кг | Внутренний диаметр присоединяемого шланга, мм |
| ВПК1200 | 234 | 190 | 90 | Ø12 | 194 | 8.25 | 17 |

Рис.1. Схема вибратора ВПК-1200
ДОСТАВКА
Вы можете выбрать любой наиболее удобный способ из перечисленных ниже:
Доставка до терминала ТК «Деловые линии» осуществляется нами бесплатно.
ОПЛАТА
Мы принимаем оплату:
Цены на поставляемые нами товар всегда ниже, чем у наших конкурентов.
Условия гарантийного обслуживания
Гарантия не распространяется на ущерб, причиненный другому оборудованию, работающему вместе с данным изделием.
Центр измерительной техники «Эталонприбор» располагает своим собственным ремонтным сервисом, где Вы можете получить услуги по: ремонту, наладке, калибровке, гарантийному и послегарантийному обслуживанию измерительного оборудования, как приобретенного у нас, так и у других поставщиков. Сервис работает на основе лицензии, выданной Ростехрегулированием РФ.
