Микроманометр жидкостный компенсационный МКВ-250 предназначен для точного измерения давления, разряжения или разности давления газов в пределах 0…2500Па.
Также микроманометр МКВ-250 может использоваться в качестве образцового прибора для поверки тягомеров, дифференциальных манометров и др. приборов с более низким классом точности.
Характеристика | Значение | |
Диапазон измерений | 0-2500 Па | |
Предельно допустимая погрешность прибора от 250 даПа (максимально измеряемого значения) | ≤0,02 % | |
Шаг микрометрического винта | 2 мм | |
Линейка, цена деления | 1 мм | |
Лимб, цена деления | 0,01 мм | |
Размеры МКВ-250 | высота | 430 мм |
диаметр основания | 240 мм | |
Размеры футляра | 280х275х500 мм | |
Масса МКВ-250 | 7,5 кг | |
Масса футляра | 5 кг | |

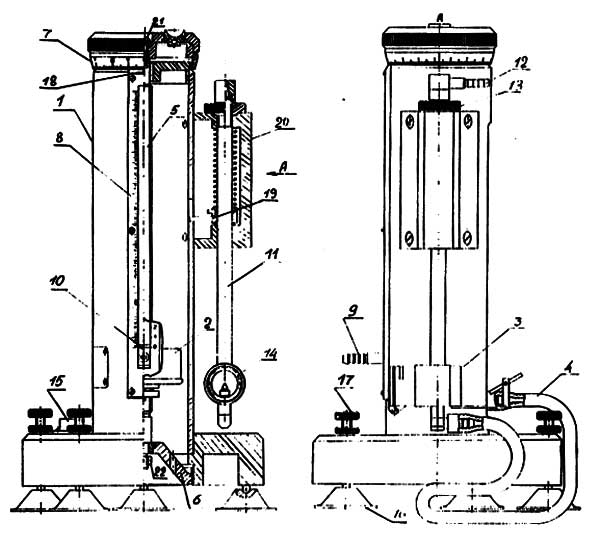
Рисунок 1 - конструкция микроманометра

Рисунок 2 - принцип работы

Рисунок 3 - уровни жидкости
Принцип работы, микроманометра МКВ-250 основан на законе сообщающихся сосудов где измеряемое давление или разрежение определяется столбом уравновешивающей жидкости —дистиллированной воды.
Конструктивно микроманометр состоит из корпуса 1 (рисунок 1) и двух сосудов — подвижного 2 и неподвижного 3 с оптическим устройством (см. рисунок 2).
Подвижный инеподвижный сосуды соединены между собой резиновой трубкой 4.
В центре подвижного сосуда имеется гайка через которую проходит микрометрический винт 5. Нижний конец микрометрического винта подвижно соединен с гайкой 6 в основании микроманометра, а верхний жестко соединен с головкой делительной 7.
Шкала головки делительной по окружности разделена на 200 равных частей с ценой деления 0.01 мм и имеет оцифровку от «0» до «9х10» дважды.
На корпусе микроманометра МКВ-250 размещена линейка 8 со шкалой, разделенной на 250 равных частей, с ценой деления 1 мм и имеет оцифровку от «О» до «25х10».
Вращая лимб по часовой стрелке подвижный сосуд со штуцером 9 и указателем 10 перемещаются вверх, апри вращении лимба против часовой стрелки — перемещаются вниз.
Неподвижный сосуд через трубку 11 соединяется со штуцером 12.
Гайка 13 служит для точной подгонки нуля. вращая ее поднимают или опускают неподвижный сосуд.
Оптическое устройство неподвижного сосуда (рисунок 2) состоит из зеркала 1. линзы 2. штифта-указателя 3 (на рисунке 1 поз.14). стекла 4 иотражателя 5.
Луч света, попадающий через стекло от отражателя дает возможность наблюдать в зеркале касания острия штифта указателя с его отражением от поверхности воды.
Для точной установки микроманометра ввертикальное положение внижней части корпуса вмонтирован уровень 15.
Микроманометр МКВ-250 в рабочее положение устанавливают с помощью подушек 16 и регулировочных винтов 17.
ДОСТАВКА
Вы можете выбрать любой наиболее удобный способ из перечисленных ниже:
Доставка до терминала ТК «Деловые линии» осуществляется нами бесплатно.
ОПЛАТА
Мы принимаем оплату:
Цены на поставляемые нами товар всегда ниже, чем у наших конкурентов.
Условия гарантийного обслуживания
Гарантия не распространяется на ущерб, причиненный другому оборудованию, работающему вместе с данным изделием.
Центр измерительной техники «Эталонприбор» располагает своим собственным ремонтным сервисом, где Вы можете получить услуги по: ремонту, наладке, калибровке, гарантийному и послегарантийному обслуживанию измерительного оборудования, как приобретенного у нас, так и у других поставщиков. Сервис работает на основе лицензии, выданной Ростехрегулированием РФ.
