НАЗНАЧЕНИЕ
Нагреватели предназначены для разогрева или компенсации теплопотерь различного технологического., оборудования (трубопроводов, насосов, запорной и регулирующей арматуры, теплообменников и т. п.).
Эксплуатация нагревателей допускается в макроклиматическнх районах умеренного климата по ГОСТ 15150-69 при относительной влажности до 100% при 25° С и при более низких температурах с конденсацией влаги.
Нагреватели могут применяться в пожароопасных установках (наружных и в помещениях) классов П-I; П-II; П-III согласно классификации "Правил устройств электроустановок" (ПУЭ).
ТЕХНИЧЕСКИЕ ДАННЫЕПример условного обозначения элемента нагревательного гибкого ленточного мощностью 1,63 кВт, рабочим напряжением 220 В, исполнения И, длиной активной (нагревательной) части 27,12 м ЭНГЛ 180 1,63/220 И 27,12 ТУ 63 РСФСР-3-76.
Основные параметры и размеры.
Таблица 1
Условное обозначение нагревателя | Тип нагревателя | Удельная мощность, Вт/м | Номинальная мощность, - Вт | Электрическое сопротивление, Ом | Длина, м | Масса, кг, не более |
1 | 2 | 3 | 4 | 5 | 6 | 7 |
ЭНГЛ-1-0,66/220(1800 С)-16,48 | 1 | 40 | 660 | 74 | 16,48 | 2,2! |
ЭНГЛ-1-0,80/220(1800 С)- 1 3,48 | 1 | 60 | 800 | 59 | 13,48 | 1,83 |
ЭНГЛ-1-0,92/220(1800 С)- 1 1 ,68 | 1 | 80 | 920 | 51 | 11,68 | 1,61 |
ЭНГЛ-1-1,04/220(1800 С)-Ю,44 | 1 | 100 | 1040 | 46 | 10,44 | 1,44 |
ЭНГЛ-1-1,32/220(1800 С)-32,96 | 2 | 40 | 1320 | 37 | 32,96 | 4,07 |
ЭНГЛ-1-1,61/220(1800 С)-26,96 | 2 | 60 | 1610 | 29 | 26,96 | 3,59 |
ЭНГЛ-1-1,85/220(1800 С)-23,36 | 2 | 80 | 1850 | 25 | 23,36 | 3,15 |
ЭН ГЛ-1-2,08/220(1800 С)-20,88 | 2 | 100 | 2080 | 23 | 20,88 | 2,84 |
ЭНГЛ-1-0,16/220(1800 С)-4,12 | 3 | 40 | 160 | 294 | 4,12 | 0,70 |
ЭНГЛ-1-0,20/220(180"С)-3,37 | 3 | 60 | 200 | 239 | 3,37 | 0,61 |
ЭНГЛ-1-0,23/220(1800 С)-2,92 | 3 | 80 | 230 | 207 | 2,92 | 0,55 |
ЭНГЛ-1-0,26/220(1800 С)-2,61 | 3 | 100 | 260' | 185 | 2,61 | 0,51 |
ЭНГЛ-1-0,33/220(1800 С)-8,24 | 4 | 40 | 330 | 147 | 8,24 | 1,17' |
ЭНГЛ-1-0,40/220(1800 С)-6,74 | 4 | 60 | 400 | 119 | 6,74 | 0,98 |
ЭНГЛ-1-0,46/220(1800 С)-5,84 | 4 | 80 | 460 | 103 | 5,84- | 0,87 |
ЭНГЛ-1-0,52/220(1800 С)-5,22 | 4 | 100 | 520 | 92 | 5,22 | 0,80 |
Таблица 1а
Условное обозначение нагревателя | Тип нагревателя | Удельная мощность, Вт/м | Номинальная мощность, • Вт | Электрическое сопротивление, Ом | Длина, м | Масса, кг, не более |
1 | 2 | 3 | 4 | 5 | 6 | 7 |
Э Н ГЛ-1-1,14/380(1800 С)-28, 50 | 1 | 40 | 1140 | 127 | 28,50 | 3,53 |
ЭНГЛ-1-1,39/380(1800 С)-23,26 | 1 | 60 | 1390 | 103 | 23,26 | 3,08 |
ЭНГЛ-1-1,61/380(1800 С)-20,15 | 1 | 80 | 1610 | 90 | 20,15 | 2,68 |
ЭНГЛ-1-1,80/380(1800 С)- 18,02 | 1 | 100 | 1800 | 80 | 18,02 | 2,40 |
ЭНГЛ-1-2,28/380(1800 С)-57,00 | 2 | 40 | 2280 | 63 | 57,00 | 7,40 |
ЭН ГЛ-1-2,79/380(1800 С)-46,56 | 2 | 60 | 2790 | 52 | 46,56 | 5,75 |
ЭНГЛ-1-3,21/380(1800 С)-40,24 | 2 | 80 | 3210 | 45 | 40,24 | 5,29 |
ЭНГЛ-1-3.60/380(1800 С)-36,00 | 2 | 100 | 3600 | 40 | 36,00 | 4.84 |
ЭНГЛ-1-0,28/380(1800 С)-7,12 | 3 | 40 | 280 | 507 | 7,12 | 1,08 |
ЭНГЛ-1-0,35/380(1800 С)-5,82 | 3 | 60 | 350 | 414 | 5,82 | 0,91 |
ЭНГЛ-1-0,40/380(1800 С)-5,03 | 3 | 80 | 400 | 359 | 5,03 | 0,81 |
ЭНГЛ-1-0,45/380(1800 С)-4,50 | 3 | 100 | 450 | 321 | 4,50 | 0,75 |
ЭНГЛ-1-0,57/380(1800 С)-14,25 | 4 | 40 | 570 | 253 | 14,25 | 1,94 |
ЭНГЛ-1-0,70/380(1800 С)-11,62 | 4 | 60 | 700 | 207 | 11,62 | 1,62 |
ЭНГЛ-1-0,80/380(1800 С)-10,05 | 4 | 80 | 800 | 180 | 10,06 | 1,41 |
Э Н ГЛ-1-0,90/380(1800 С)-9.0 1 | 4 | 100 | 900 | 160 | 9,01 | 1,28 |
Для поддержания температуры трубопроводов и труб нагревательный кабель монтируется на поверхность трубы. При помощи термостата или контроллера обеспечивается поддержание заданной температуры. Таким образом, система электрообогрева на основе саморегулируемых греющих кабелей позволяет эффективно и надежно компенсировать теплопотери, препятствуя замерзанию труб и трубопроводов.
Принцип работы системы обогрева труб:
Внутри трубы или на её поверхности устанавливается греющий кабель по всей её длине. С помощью укрепленных на трубе датчиков считывается температура жидкости внутри трубы. Если температура жидкости в трубе опускается ниже заданной, на терморегулятор поступает команда о включении нагревательного кабеля. При восстановлении рабочей температуры кабель отключается до следующей команды.
Использование обогревающих кабелей позволяет проектировать кабельные системы предотвращения замерзания для труб и трубопроводов для любых жидкостей и окружающей среды, что позволяет значительно расширить возможности их использования.
Парафины, например, затвердевают при температурах ниже 70oC (что значительно выше температуры окружающей среды). Соответственно, чтобы избежать охлаждения трубопроводов и застывания перекачиваемых веществ, необходимо обеспечить подогрев. Разумеется, эту задачу можно решить применением традиционных сопутствующих паропроводов, но системы электрообогрева на основе саморегулируемых греющих кабелей обеспечивают большую надежность, удобство при монтаже и долговечность.
В быту системы обогрева трубопровода на основе нагревательных кабелей применяются, как правило, для обогрева водопроводных труб, водостоков, кровли, обустройства теплого пола.

Монтаж нагревателей на трубах линейно и спирально: 1 - Нагреватель, 2 - Стеклолента 
Монтаж нагревателей на фланцах трубопровода: 1 - Нагреватель, 2 - Стеклолента, 3 - Алюминиевая лента 
Монтаж нагревателей на отпускном коллекторе резервуара: 1,2 - Нагреватели, 3 - Стеклолента, 4 - Алюминиевая лента 
Монтаж теплоизоляции на трубопроводах и запорной арматуре: 1 - Нагреватель, 2 - Теплоизоляция, 3 - Защитная металлическая оболочка 
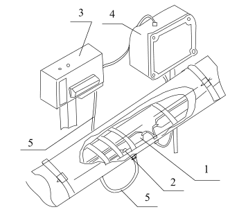
Вариант подключения нагревателей к коробке с установкой монометрического электроконтактного термометра: 1 - Нагреватель, 2 - Термобаллон, 3 - Манометрический термометр, 4 - клеммная коробка, 5 - металлорукав.
Полное описание "Элементы нагревательные гибкие ленточные ЭНГЛ-1"
ДОСТАВКА
Вы можете выбрать любой наиболее удобный способ из перечисленных ниже:
Доставка до терминала ТК «Деловые линии» осуществляется нами бесплатно.
ОПЛАТА
Мы принимаем оплату:
Цены на поставляемые нами товар всегда ниже, чем у наших конкурентов.
Условия гарантийного обслуживания
Гарантия не распространяется на ущерб, причиненный другому оборудованию, работающему вместе с данным изделием.
Центр измерительной техники «Эталонприбор» располагает своим собственным ремонтным сервисом, где Вы можете получить услуги по: ремонту, наладке, калибровке, гарантийному и послегарантийному обслуживанию измерительного оборудования, как приобретенного у нас, так и у других поставщиков. Сервис работает на основе лицензии, выданной Ростехрегулированием РФ.
