Построение простых локальных систем управления:
Наименование | Значение | ||
ПР110 | ПР114 | ||
Каналы ввода / вывода | |||
Количество входов аналоговых | Нет | 4 (0) | |
Количество входов дискретных | 8 или 12 | 8 (12) | |
Количество выходов дискретных | 4 или 8 | 4 - 8 | |
Количество выходов аналоговых | Нет | До 4 | |
Питание прибора | |||
Напряжение питания | =24 В или ~220 В | =24 В и ~220 В | |
Потребляемая мощность, ВА, не более | 8 | 16 | |
Программирование | |||
Количество ФБ, среднее | 63 | 500 | |
RETAIN-переменные | Нет | 136 байт | |
Время цикла, мс, не менее | 3 | 1 | |
Конструкция | |||
Тип крепления | На DIN-рейку, настенное | ||
Степень защиты корпуса | IP20 | ||
Климатика | -20...+55 °С | ||
Габариты, мм | (110×73×63)±1 (110×73×96)±1 | (110×73×96)±1 | |
По всем вопросам связанных с программируемым реле ОВЕН ПР обращайтесь по адресу support@owen.ru.
Так же рекомендуем ознакомиться с разделом FAQ, возможно, на Ваш вопрос уже есть ответ.
Программа для ОВЕН ПР создается в специализированной среде OWEN Logic.
Программирование реле ОВЕН ПР возможно только при использовании комплекта для программирования ПР-КП10 или ПР-КП20.
Наименование | Значение |
| Напряжение питания, В* | 21...27 В (номинальное напряжение 24 В) |
| 90...264 В (номинальное 110-220 В, при частоте 47...63 Гц) | |
| Потребляемая мощность, ВА, не более | 16 |
| Гальваническая развязка, В | есть, 1500 |
| Встроенный источник питания | =24 В, 145 мА max |
*Блок питания универсальный
Параметр | Значение |
| Количество дискретных входов | 8, развязка групповая по 4 входа (1-4, 5-8),1500 В |
| Тип датчика дискретного входа | - коммутационные устройства (контакты кнопок, выключателей, герконов, реле и т.п.); |
| - датчики, имеющие на выходе транзистор p-n-p типа с открытым коллектором | |
| Напряжение питания дискретных входов, В | 21...27 |
| Максимальный ток дискретного входа, мА не более | 4 |
| Ток «логической единицы», мА | 2,0…4,0 |
| Ток «логического нуля», мА | не более 0,1 |
| Уровень сигнала, соответствующий логической единице на дискретном входе, В | 15…30 |
| Уровень сигнала, соответствующий логическому нулю на дискретном входе, В | - 3…+ 5 |
Параметр | Значение |
| Количество входов | 4 (входа 9-12) |
| Режим аналогового входа | |
| Тип измеряемых сигналов | «0…10 В», «4…20 мА», |
| Входное сопротивление, кОм | 67 |
| Предел основной приведенной погрешности, % | ±0,5 |
| Значение наименьшего значащего разряда, мВ | 2,7 (3700 ед./(0-10 В)) |
| Период обновления результатов измерения четырех каналов, мс, не более | 0,5 |
| Дополнительной приведенной погрешности, вызванной изменением температуры на 10 °С в пределах рабочего диапазона температур, % | ±0,25 |
| Режим дискретного входа | |
| Напряжение «логической единицы» , В (ток в цепи) | 14…30 (1,0…2,6 мА) |
| Напряжение «логического нуля», В (ток в цепи) | 0…11 (не более 0,2 мА) |
| Гальваническая развязка | Отсутствует |
Параметр | Значение |
| Количество выходных устройств | 8, из них 4 с возможностью |
| Из них: - фиксированные (дискретные) - на выбор (аналоговые/дискретные) | 4 (выходы 1-4) 4 (выходы 5-8) |
| Гальваническая развязка | Индивидуальная, 1500 В, кроме выхода типа Т |
| Типы выходных элементов | см табл. "Тип встроенного выходного устройства" |
Параметр | Значение |
| Индикация состояния входов/выходов | Светодиодная, на передней панели |
| Тип корпуса | Корпус для крепления на стену или на DIN-рейку шириной 35 мм. |
| Габаритные размеры, мм | (96×110×73)±1 |
| Климатическое исполнение | IP20 (-20…+55) |
| Масса прибора, кг, не более | 0,5 |
| Время цикла, мс min (зависит от сложности программы) | 1 |
| Количество ФБ, шт., среднее | 500 |
| Количество функций, шт., среднее | 500 |
| Количество переменных для сетевого обмена, шт. max | 64 (32 на чтение, 32 на запись) |
| Объем памяти для энергонезависимых переменных, байт | 136 |
| Обозначение выходного элемента | Тип выходного элемента | Технические параметры |
| Р | Контакты электромагнитного реле | Максимальный коммутируемый ток, А, не более – 5 A при напряжении не более 30 В постоянного тока – 10 A при напряжении не более 250 В переменного тока, 50 Гц и cosφ> 0,95 Механический ресурс реле, циклов, не менее – 5 000 000 Электрический ресурс реле, циклов, не менее – 200 000 |
| К | Оптопара транзисторная n-p-n-типа | Постоянный ток не более 400 мА при напряжении не более 60 В |
| Т | Выход для управления внешним твердотельным реле | Выходное напряжение 4…6 В, постоянный ток не более 25 мА |
| С | Оптопара симисторная | Ток не более 50 мА при переменном напряжении не более 250 В (50 Гц) |
| И | ЦАП «параметр – ток» | Постоянный ток 4…20 мА на внешней нагрузке не более 1 кОм, напряжение питания 12…30 В |
| У | ЦАП «параметр – напряжение» | Постоянное напряжение 0…10 В на внешней нагрузке не менее 2 кОм, напряжение питания 16…30 В |


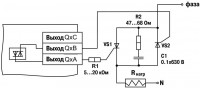
Назначение контактов ПР114












ДОСТАВКА
Вы можете выбрать любой наиболее удобный способ из перечисленных ниже:
Доставка до терминала ТК «Деловые линии» осуществляется нами бесплатно.
ОПЛАТА
Мы принимаем оплату:
Цены на поставляемые нами товар всегда ниже, чем у наших конкурентов.
Условия гарантийного обслуживания
Гарантия не распространяется на ущерб, причиненный другому оборудованию, работающему вместе с данным изделием.
Центр измерительной техники «Эталонприбор» располагает своим собственным ремонтным сервисом, где Вы можете получить услуги по: ремонту, наладке, калибровке, гарантийному и послегарантийному обслуживанию измерительного оборудования, как приобретенного у нас, так и у других поставщиков. Сервис работает на основе лицензии, выданной Ростехрегулированием РФ.
