Преобразователь разности давлений 13ДД11-728 предназначен для выдачи информации в виде стандартного пневматического сигнала (20-100 кПа) о перепаде давления, о расходе жидкостей и газов, в системах контроля и управления технологическими процессами со взрывоопасными условиями.
Предельно допускаемое рабочее избыточное давление, МПа | 40 | |
Предельный номинальный перепад давления, кПа | 16, 25 | |
Предельный номинальный перепад давления, кПа | 40 | 63; 100; 160 |
Диаметр мембраны измерительного блока, мм | 64 | 32 |
Диаметр сильфона обратной связи, мм | 28; 34; 42 | 28; 34; 42 |
Пределы допускаемой основной погрешности, g | ±1,0; ±0,6 | ±1,0; ±0,6 |
Масса, кг | 6,5 | |
Преобразователи 13ДД11-728 широко применяются в химической, нефтеперерабатывающей, нефтехимической промышленности, в энергетике и ряде других отраслей.
Приборы относятся к изделиям ГСП и эксплуатируются совместно со вторичными регистраторами и регуляторами, работающими от стандартного сигнала 20-100 КПа.
Чувствительного | Остальных деталей, соприкасающихся | Уплотнительных прокладок мембранного блока |
36НХТЮ Тантал | Углеродистая сталь | Резина III-Iб-23-НО-68-1 |
36НХТЮ Тантал | 12Х18Н10Т 12Х18Н10Т | Фторопласт 4В ГОСТ 10007-80 |
Примечание - Сплав 36НХТЮ - по ГОСТ 10994
Сплавы 12Х18Н10Т, 15Х18Н12С4ТЮ - по ГОСТ 5632
Обозначение заполнения | Жидкость, заполняющая мембранный блок | Диапазон изменения температуры окружающего воздуха, °С |
001 | Полиэтилсилоксановая жидкость ПЭС-2 ГОСТ 13004 | -50...+50 |
-50...+80 | ||
002 | Водоглицериновый раствор (60% воды и 40% глицерина ГОСТ 6823 по массе) | -10...+50 |
-10...+80 |
По устойчивости к механическим воздействиям преобразователь соответствует группе исполнения L3 по ГОСТ Р52931. Степень защиты корпуса IP54 по ГОСТ 14254.

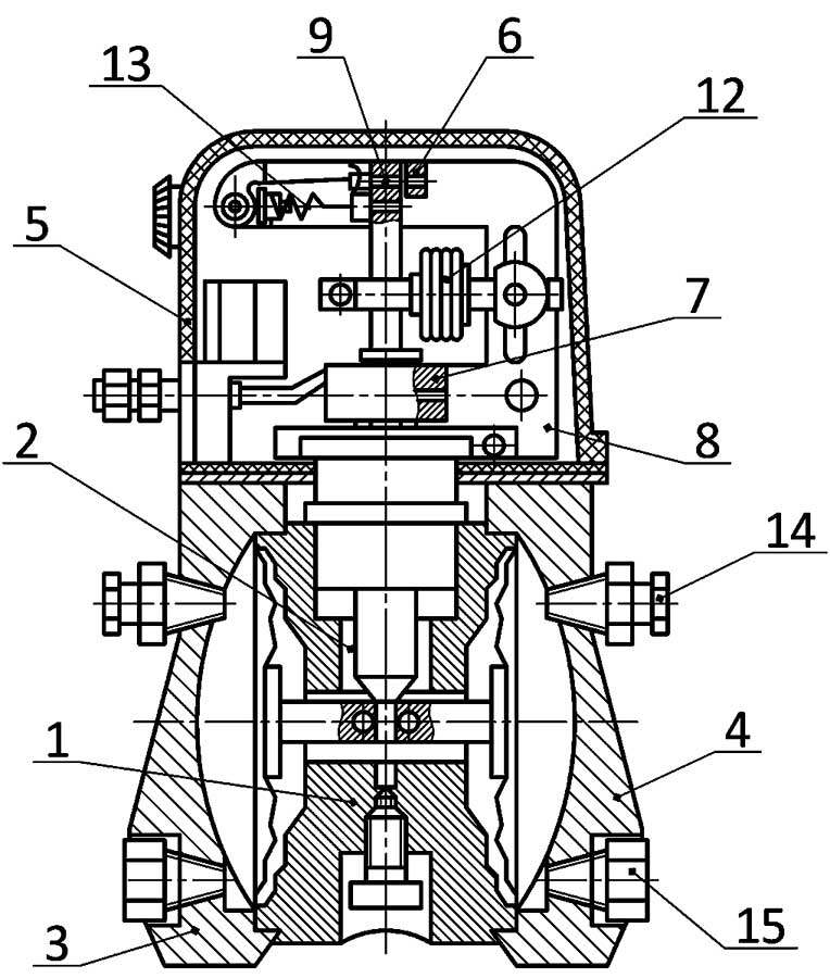
Конструктивная схема - измерительный преобразователь разности давления 13ДД11-728
Конструкция:

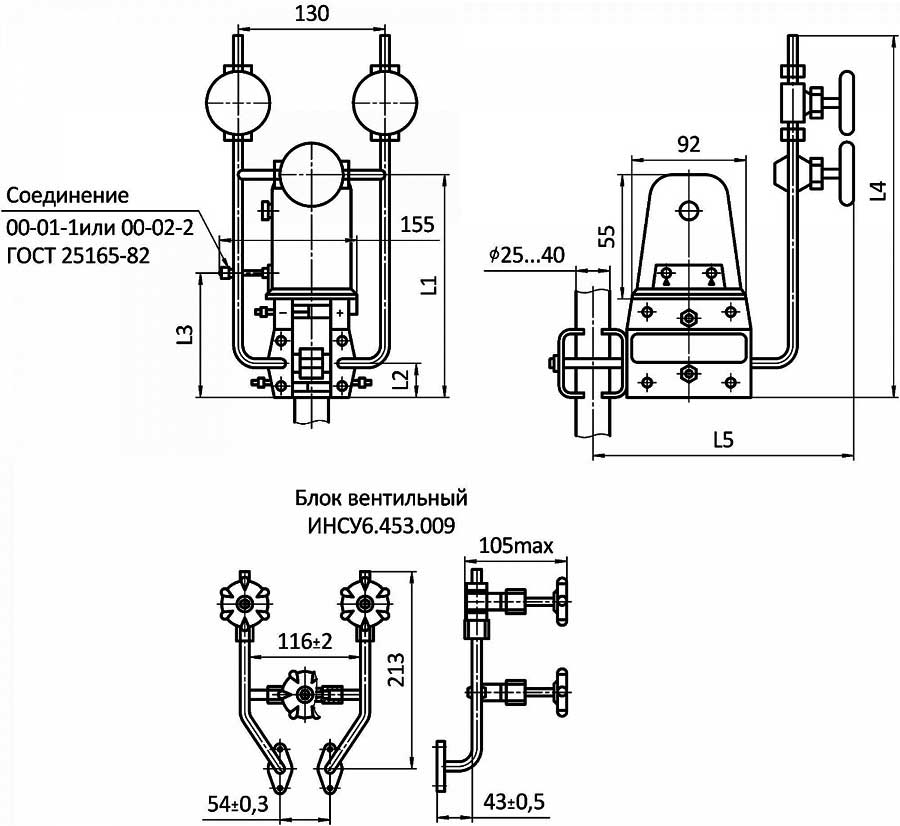
Соединительная схема преобразователя 13ДД11-728
Перепады, кПа | L1 | L2 | L3 | L4 | L5 |
от 16 до 160 | 197 | 30 | 110 | 224 | 110 |
ДОСТАВКА
Вы можете выбрать любой наиболее удобный способ из перечисленных ниже:
Доставка до терминала ТК «Деловые линии» осуществляется нами бесплатно.
ОПЛАТА
Мы принимаем оплату:
Цены на поставляемые нами товар всегда ниже, чем у наших конкурентов.
Условия гарантийного обслуживания
Гарантия не распространяется на ущерб, причиненный другому оборудованию, работающему вместе с данным изделием.
Центр измерительной техники «Эталонприбор» располагает своим собственным ремонтным сервисом, где Вы можете получить услуги по: ремонту, наладке, калибровке, гарантийному и послегарантийному обслуживанию измерительного оборудования, как приобретенного у нас, так и у других поставщиков. Сервис работает на основе лицензии, выданной Ростехрегулированием РФ.
