Сигнализаторы уровня СУС-РМ, РОС-101, РОС-102 предназначены для контроля (сигнализации) предельных положений уровня жидких и твердых (сыпучих) сред в одной или в двух точках, а также контроля раздела сред вода - светлые нефтепродукты, сжиженные углеводородные газы - вода и других жидкостей с резко отличающимися диэлектрическими проницаемостями в различных резервуарах, а сигнализаторы РОС-101-А, РОС-102-А - для контроля и управления технологическими процессами на объектах атомной энергетики (ОАЭ).
Сигнализаторы обеспечивают световую индикацию достижения заданных уровней.
Напряжение питания, В | 220 |
Частота, Гц | 50 |
Потребляемая от сети мощность, В А | 5 |
Электрическая нагрузка на контакты реле | 50 Гц при 220 В |
Длина линии связи между преобразовате-лями первичным и передающим, м | до 1000 |
Масса, кг | от 0,7 до 9,0 |
Модель сигнализатора (исполнение чувствительного элемента) | Длина погружаемой части чувствительного элемента L, м |
СУС-РМ-011 | 0,1; 0,25; 0,6; 1,0; 1,6; 2,0 |
СУС-РМ-011И | |
СУС-РМ-013 | 0,25; 0,6; 1,0; 1,6; 2,0 |
СУС-РМ-013И | |
СУС-РМ-015И | 0,42 |
СУС-РМ-021 | 0,1; 0,25; 0,6; 1,0; 1,6; 2,0 |
СУС-РМ-021И | |
СУС-РМ-061И | 0,1; 0,25; 0,6; 1,0 |
СУС-РМ-062И | 0,1; 0,25 |
СУС-РМ-071 | - |
СУС-РМ-081И | 0,1; 0,25; 0,6; 0,8 |
СУС-РМ-091 | 1,0; 1,6; от 2 до 22м с интервалом 0,5 м |
СУС-РМ-093 | 1,0; 1,6; 2,0 |
Модель сигнализатора | Физическое состояние контролируемой среды (электрич. свойства) | Температура, °С | 0тносительная диэлектрическая проницаемость |
СУС-РМ-011 (2,5 МПа) | Жидкая (вязкость 1,0 Паю) | -100...+250 | 2...10 |
СУС-РМ-011И (2,5 МПа) | Жидкая (вязкость 1,0 Паю) | -40... +100 | |
СУС-РМ-013 (2,5 МПа) | Жидкая (вязкость 1,0 Паю) | -100... +250 | 1,6...10 |
СУС-РМ-013И (2,5 МПа) | Жидкая (вязкость 1,0 Паю) | -40... +100 | |
СУС-РМ-015И - | Зерно, продукты его размола | -20... +100 | 2...10 |
СУС-РМ-021 (2,5 МПа) | Жидкая (вязкость 1,0 Паю) | -100... +250 | - |
СУС-РМ-021И (2,5 МПа) | Жидкая (вязкость 1,0 Паю) | -40... +100 | |
СУС-РМ-061И (0,6-6,4 МПа) | Жидкая (вязкость 1,0 Паю) | -100... +100 | 1,4...4,0 |
СУС-РМ-062И (0,6 МПа) | Разделы сред: светлые нефтепродукты-вода | 0...+80 | - |
СУС-РМ-071 - | Кусковая порошкообразная | -30... +100 | 2,0...4,0 |
СУС-РМ-081И (2,5 МПа) | Жидкая (вязкость 1,0-3,0 Паю) | -80... +100 | 1,6...10 |
СУС-РМ-091 - | Жидкая (вязкость 1,0 Паю) | -40... +100 | 1,6...10 |
СУС-РМ-093 - | Жидкая (вязкость 1,0 Паю) | -40... +100 | - |
Сигнализаторы уровня СУС-РМ, РОС-101, РОС-102 состоят из одного или двух (в зависимости от заказа) преобразователей пер-вичных емкостного типа (ПП) и передающего преобразователя на одну или две точки контроля ППР-1, ППР-2, при этом двухточечные сигнали-заторы могут включать в комплект преобразователи первичные на среды с различными электри-ческими свойствами, например:СУС-РМ - 011/021.
Преобразователь первичный состоит из чувст-вительного элемента, корпуса с крышкой, элек-тронного модуля, прокладки.
Преобразователь передающий состоит из кор-пуса, крышки, платы, на которой собран элек-тронный модуль вторичного преобразователя передающего, модуля преобразования тока в на-пряжение или модуля гальванической развязки МГР (для СУС-РМ-И) и имеет наружный винт за-земления.
Длина погружаемой части стержневого неизо-лированного чувствительного элемента более 0,25 м может обеспечиваться потребителем пу-тем установки стержня, наращиваемого на требу-емую длину.
Детали преобразователей первичных сигнали-заторов контроля зерна и продуктов его размола, соприкасающиеся с контролируемой средой, из-готовляются из материалов, не выделяющих вредных продуктов в концентрациях, опасных для организма человека.
Принцип действия сигнализатора основан на высокочастотном преобразовании изменения электрической емкости чувствительного элемента, вызванного изменением уровня контролируе-мой среды, в электрический релейный сигнал.

Габаритные установочные размеры преоб-разователя передающего (ППР)
Выполняются любые две пары отверстий с межцентровым расстоянием 52 или 80 мм

Габаритные и установочные размеры первичных преобразователей ПП-011; ПП-011И; ПП-111; ПП-111И

Габаритные и установочные размеры первичных преобразователей ПП-021; ПП-021И; ПП-121; ПП-121И

Габаритные и установочные размеры первичных преобразователей ПП-013; ПП-013И; ПП-113; ПП-113И

Габаритные и установочные размеры первичных преобразователей ПП-015И

Габаритные и установочные размеры первичных преобразователей ПП-061И; ПП-161И
D, мм | D1, мм | d, мм | b, мм | L, м | Py, МПа |
140 | 110 | 14 | 12 | 0,1-0,6 | 0,6 и 1,0 |
160 | 125 | 18 | 13 | 0,1-0,6 | 2,5 и 4,0 |
160 | 125 | 18 | 17 | 0,1-0,6 | 2,5 и 4,0 |
175 | 135 | 22 | 23 | 0,1-0,6 | 6,4 |

Габаритные и установочные размеры первичных преобразователей ПП-062И; ПП-162И

Габаритные и установочные размеры первичных преобразователей ПП-071; ПП-171

Габаритные и установочные размеры первичных преобразователей ПП-081И; ПП-181И

Габаритные и установочные размеры первичных преобразователей ПП-091; ПП-093; ПП-191; ПП-193

Схема подключения одноканального сиг-нализатора (невзрывозащищенное исполнение)

Схема подключения одноканального сиг-нализатора (взрывозащищенное исполнение)

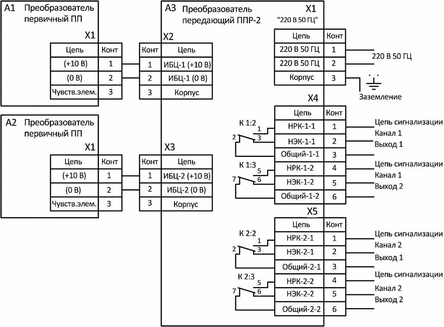
Схема подключения двухканального сиг-нализатора (невзрывозащищенное исполнение)

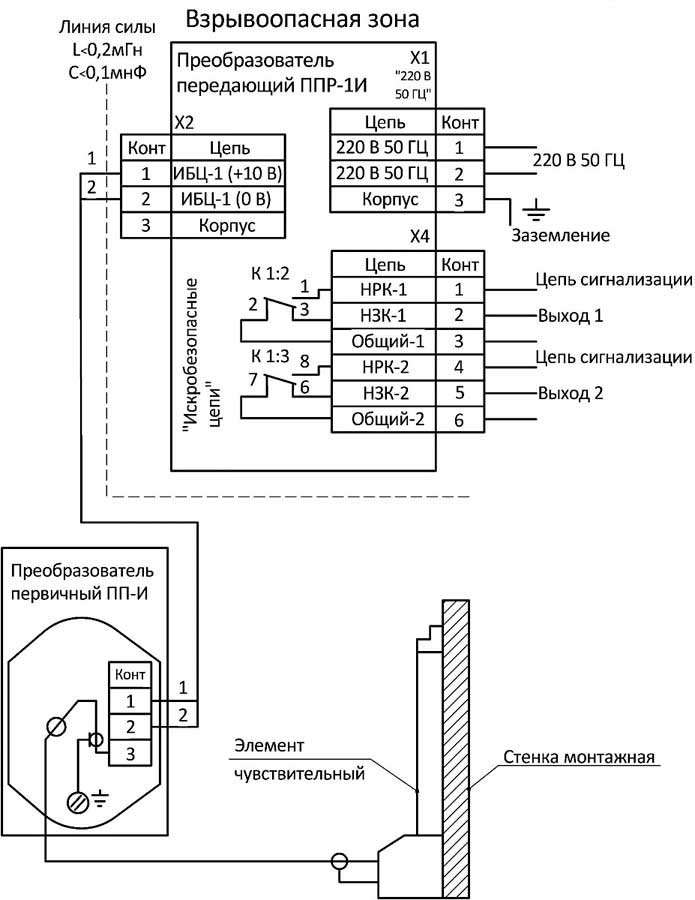
Схема подключения двухканального сиг-нализатора (взрывозащищенное исполнение)

Схема подключения сиг-нализатора с ПП-015И
ДОСТАВКА
Вы можете выбрать любой наиболее удобный способ из перечисленных ниже:
Доставка до терминала ТК «Деловые линии» осуществляется нами бесплатно.
ОПЛАТА
Мы принимаем оплату:
Цены на поставляемые нами товар всегда ниже, чем у наших конкурентов.
Условия гарантийного обслуживания
Гарантия не распространяется на ущерб, причиненный другому оборудованию, работающему вместе с данным изделием.
Центр измерительной техники «Эталонприбор» располагает своим собственным ремонтным сервисом, где Вы можете получить услуги по: ремонту, наладке, калибровке, гарантийному и послегарантийному обслуживанию измерительного оборудования, как приобретенного у нас, так и у других поставщиков. Сервис работает на основе лицензии, выданной Ростехрегулированием РФ.
