Устройство защиты УЗЛ-И предназначено для защиты оборудования распределительных сетей аппаратуры промышленной автоматизации, линий последовательного интерфейса RS-485 и его аналогов, сигнальных линий систем управления и измерения от импульсных перенапряжений (грозовых, электростатических разрядов и др.) в пределах 2 ÷ 3 зон молниезащиты (в соответствии с МЭК 61312-1).
Защищаемое оборудование: контроллеры систем сигнализации и автоматизации, исполнительные устройства, системы телеметрии и учёта и т.д.
УЗЛ-И по техническим и эксплуатационным характеристикам удовлетворяет требованиям ГОСТ IEC 61643-21, ГОСТ IEC 61000-4-5. Степень защиты IP20 в соответствии с ГОСТ 14254. Конструктивно УЗЛ-И выполнено в пластмассовом корпусе с креплением на 35мм DIN-рейку. Изделие выпускается по техническим условиям ТУ 26.30.50-077-31006686-2017.
| № п/п | Характеристика | Значение |
| 1 | Номинальное рабочее напряжение UN | 5 В DC |
| 2 | Макс. длительное рабочее напряжение UС | 6,5 В DC |
| 3 | Номинальный рабочий ток IN | 100 мА |
| 4 | С2 Номинальный ток разряда (8/20 мкс) In Линия-линия / линия-земля | 2 / 2 кА |
| 5 | Суммарный импульсный ток (8/20 мкс) | 4 кА |
| 6 | С2 Уровень напряжения защиты UP при In, не более Линия – линия (A – B) Линия – сигнальная земля (A, B – SG) Линия –защитная земля: (A, B, SG) – (PE-GDT) | 15 В 15 В 600 В |
| 7 | Время срабатывания tA, не более Линия-линия / линия-земля | 10нс/100нс |
| 8 | Вносимое сопротивление на цепь, не более | 4,7 Ом |
| 9 | Скорость передачи данных, не более | 1 Мбит / сек |
| 10 | Диапазон рабочих температур | – 55°С … +85°С |
| 11 | Габаритные размеры | 89 х 58 х 35 мм |
| 12 | Вес в упаковке | 90 г |
| 13 | Категория испытаний по МЭК 61643-21 | С2 |


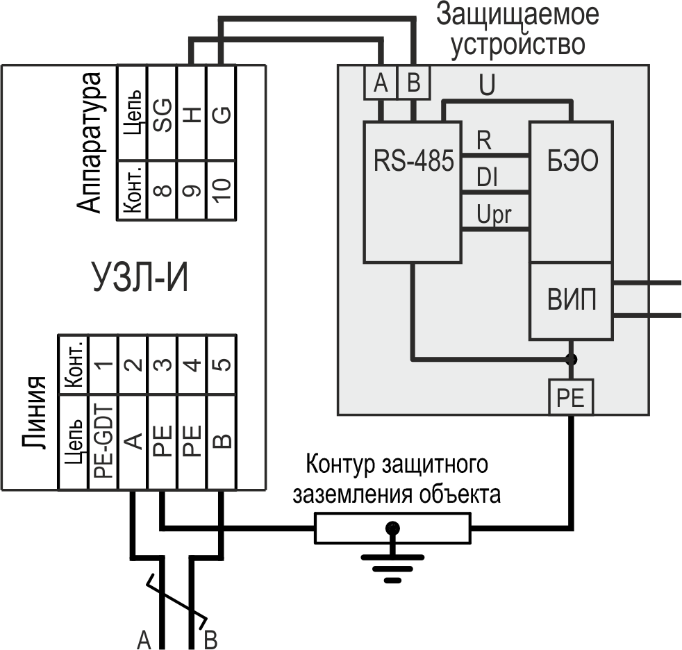
Схема включения 1 используется в двухпроводных системах связи, в которых устройства подключены к общему контуру заземления.

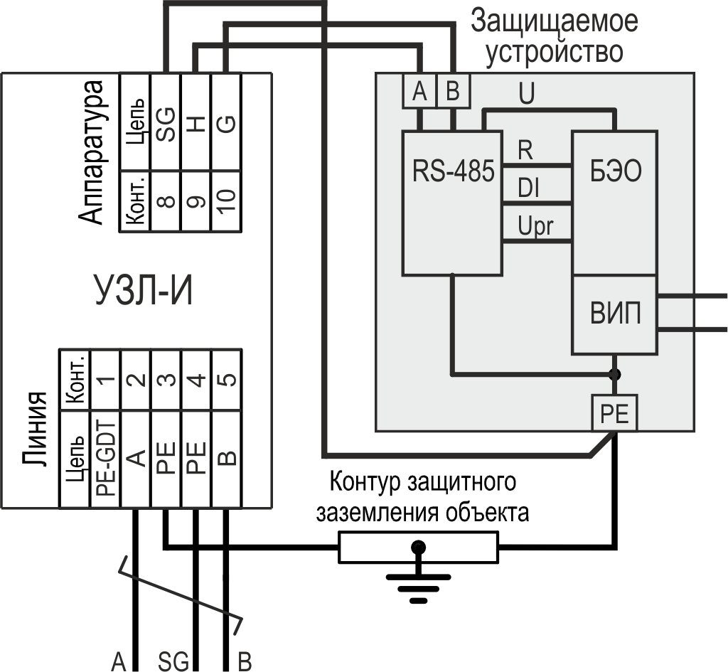
Схема включения 2 используется в трехпроводных системах связи, в которых для выравнивания потенциалов земли между сигнальными землями (SG) устройств прокладывается возвратный проводник.

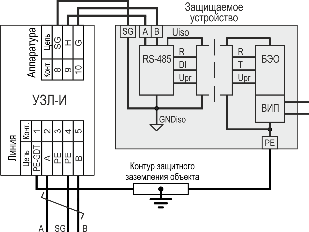
Схема включения 3 используется в трехпроводных системах связи, в которых для устранения влияния разности потенциалов между сигнальными землями (SG) устройств применяются приемо-передатчики с гальванической развязкой.

ДОСТАВКА
Вы можете выбрать любой наиболее удобный способ из перечисленных ниже:
Доставка до терминала ТК «Деловые линии» осуществляется нами бесплатно.
ОПЛАТА
Мы принимаем оплату:
Цены на поставляемые нами товар всегда ниже, чем у наших конкурентов.
Условия гарантийного обслуживания
Гарантия не распространяется на ущерб, причиненный другому оборудованию, работающему вместе с данным изделием.
Центр измерительной техники «Эталонприбор» располагает своим собственным ремонтным сервисом, где Вы можете получить услуги по: ремонту, наладке, калибровке, гарантийному и послегарантийному обслуживанию измерительного оборудования, как приобретенного у нас, так и у других поставщиков. Сервис работает на основе лицензии, выданной Ростехрегулированием РФ.
