Гидроклапан обратный модульный КОМ-М 6/3 предназначен для свободного пропускания потока рабочей жидкости в одном направлении и для перекрытия потока в обратном направлении.
Структура условного обозначения гидроклапана - КОМ-М 6/3 УХЛ4:

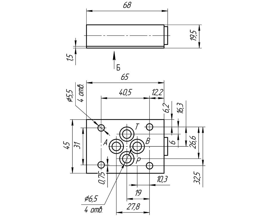
Конструктивная схема гидроклапана
Диапазон давления на входе, МПа | 5-35 |
Диапазон регулирования давления, МПа | 5-35 |
Диапазон расхода рабочей жидкости, дм3/сек | 0-12,5 |
Внутренняя герметичность (максимальные внутренние утечки), см3/сек | 1 |
Время нарастания давления после прекращения разгрузки, не более, сек | 0,2 |
Масса, кг | 0,4 |
ДОСТАВКА
Вы можете выбрать любой наиболее удобный способ из перечисленных ниже:
Доставка до терминала ТК «Деловые линии» осуществляется нами бесплатно.
ОПЛАТА
Мы принимаем оплату:
Цены на поставляемые нами товар всегда ниже, чем у наших конкурентов.
Условия гарантийного обслуживания
Гарантия не распространяется на ущерб, причиненный другому оборудованию, работающему вместе с данным изделием.
Центр измерительной техники «Эталонприбор» располагает своим собственным ремонтным сервисом, где Вы можете получить услуги по: ремонту, наладке, калибровке, гарантийному и послегарантийному обслуживанию измерительного оборудования, как приобретенного у нас, так и у других поставщиков. Сервис работает на основе лицензии, выданной Ростехрегулированием РФ.
