Гидроклапан редукционный МКРВ-М-10 3С2 (стыковой монтаж) предназначен для поддержания в отводимом от них потоке рабочей жидкости более низкого давления, чем в подводимом потоке.
Доступные модели гидроклапана:
Диапазон давления на входе, МПа | 0,8-35 |
Диапазон регулирования давления, МПа | 0,5-12,5 |
Диапазон расхода рабочей жидкости, дм3/сек | 0-3,2 |
Внутренняя герметичность (максимальные внутренние утечки), см3/мин | 500 |
Масса, кг: | 3,5 |

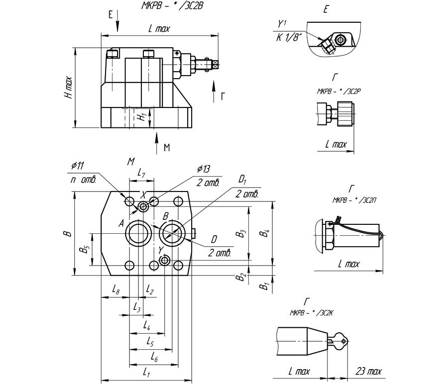
Конструктивная схема гидроклапана
H, мм | 102 |
H1 h14, мм | 22 |
B h14, мм | 91 |
B1, мм | 12,15 |
B2, мм | 7,9 |
B3, мм | 58,7 |
B4, мм | 66,7 |
B5, мм | 33,3 |
Lmax, мм | 138,5 |
L, мм | 93 |
L2, мм | 7,1 |
L3, мм | 21,4 |
L4, мм | 21,4 |
L5, мм | 35,7 |
L6, мм | 42,9 |
L8, мм | 31,8 |
D H11, мм | 22 |
D H14, мм | 14 |
n | 4 |
ДОСТАВКА
Вы можете выбрать любой наиболее удобный способ из перечисленных ниже:
Доставка до терминала ТК «Деловые линии» осуществляется нами бесплатно.
ОПЛАТА
Мы принимаем оплату:
Цены на поставляемые нами товар всегда ниже, чем у наших конкурентов.
Условия гарантийного обслуживания
Гарантия не распространяется на ущерб, причиненный другому оборудованию, работающему вместе с данным изделием.
Центр измерительной техники «Эталонприбор» располагает своим собственным ремонтным сервисом, где Вы можете получить услуги по: ремонту, наладке, калибровке, гарантийному и послегарантийному обслуживанию измерительного оборудования, как приобретенного у нас, так и у других поставщиков. Сервис работает на основе лицензии, выданной Ростехрегулированием РФ.
