Клапан обратный поворотный фланцевый ZETKAMA 302A чугунный предназначен для пропуска рабочей среды в одном направлении и предотвращают течение обратного потока.
Материал корпуса | серый чугун |
Номинальное давление, МПа | 1,6 |
Номинальный диаметр, мм | 40-300 (DN) |
Максимальная температура, °C | 300 |

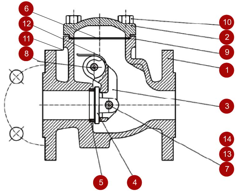
Схема - конструкция клапана
| Наименование | Материал | |
| 1 Корпус | EN-GJL-250 - JL 1040 | |
| 2 Крышка | EN-GJL-250 - JL 1040 | |
| 3 Рычаг диска | EN-GJS-500-7 JS 1050 | |
| 4 Диск | LH14 (G-X20Cr14) | |
| 5 Кольцо корпуса | X12Cr13 - 1.4006 | |
| 6 Несущая ось | латунь для DN 200-300 | |
| 7 Возвратная ось | X12Cr13 - 1.4021 | |
| 8 Ось | X12Cr13 - 1.4021 | |
| 9 Уплотняющая прокладка | графит CrNi | |
| 10 Болт | 8.8 A2A | |
| 11 Пробка | оцинкованная сталь | |
| 12 Прокладка пробки | каучуковая резина | |
| 13 Шайба | углеродистая сталь А2А | |
| 14 Штифт | X5CrNi18-10 | |

Схема - габаритные размеры клапана
| DN | PN 1,6 МПа | ||||||
| L | D | d | K | nxdo | H | Масса | |
| мм | кг | ||||||
| 40 | 180 | 150 | 84 | 100 | 4x19 | 119 | 9 |
| 50 | 200 | 165 | 99 | 125 | 4x19 | 120 | 11 |
| 65 | 240 | 185 | 118 | 145 | 4x19 | 141 | 15.2 |
| 80 | 260 | 200 | 132 | 160 | 8x19 | 168 | 20.8 |
| 100 | 300 | 220 | 156 | 180 | 8x19 | 175 | 31.5 |
| 125 | 350 | 250 | 184 | 210 | 8x19 | 199 | 46 |
| 150 | 400 | 285 | 211 | 240 | 8x23 | 217 | 60 |
| 200 | 500 | 340 | 266 | 295 | 12x23 | 277 | 120 |
| 250 | 600 | 405 | 319 | 355 | 12x28 | 337 | 180 |
ДОСТАВКА
Вы можете выбрать любой наиболее удобный способ из перечисленных ниже:
Доставка до терминала ТК «Деловые линии» осуществляется нами бесплатно.
ОПЛАТА
Мы принимаем оплату:
Цены на поставляемые нами товар всегда ниже, чем у наших конкурентов.
Условия гарантийного обслуживания
Гарантия не распространяется на ущерб, причиненный другому оборудованию, работающему вместе с данным изделием.
Центр измерительной техники «Эталонприбор» располагает своим собственным ремонтным сервисом, где Вы можете получить услуги по: ремонту, наладке, калибровке, гарантийному и послегарантийному обслуживанию измерительного оборудования, как приобретенного у нас, так и у других поставщиков. Сервис работает на основе лицензии, выданной Ростехрегулированием РФ.
