Клапан предохранительный КПУ 10/2-С УХЛ1 прямого действия предназначен для ограничения величины давления подводимого к нему потока масла, поддержания установленного давления и предохранения гидросистемы от перегрузки.
Структура условного обозначения клапана КПУ 10 / 2 - C УХЛ 1:

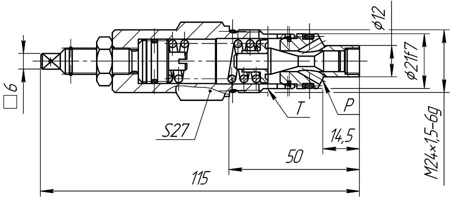
Конструктивная схема клапанов КПУ 10/*БВВ

Конструктивная схема клапанов КПУ 10/*БС

Конструктивная схема клапанов КПУ 10/*БТ
Пока давление в системе не преодолеет усилие, на которое настроена пружина, гидравлически уравновешенный золотник перекрывает выход масла на слив.
При повышении давления в гидросистеме конусный клапан, преодолевая усилие пружины, открывается, и масло поступает на слив.
С падением давления в гидросистеме ниже того, на которое настроена пружина, конусный клапан закрывается, прекращая поток масла на слив.
Давление на входе, МПа | 10 | 20 | 32 |
Диапазон настройки давления, МПа | 0,5-12,5 | 2-25 | 5-35 |
Расход рабочей жидкости, л/мин | 40 | ||
Максимальное превышение давления настройки при мгновенном возрастании давления, МПа | 2,5 | ||
Момент силы, Нм, не более | 0,6 | ||
Масса (без рабочей жидкости), кг: | 0,240 | ||
ДОСТАВКА
Вы можете выбрать любой наиболее удобный способ из перечисленных ниже:
Доставка до терминала ТК «Деловые линии» осуществляется нами бесплатно.
ОПЛАТА
Мы принимаем оплату:
Цены на поставляемые нами товар всегда ниже, чем у наших конкурентов.
Условия гарантийного обслуживания
Гарантия не распространяется на ущерб, причиненный другому оборудованию, работающему вместе с данным изделием.
Центр измерительной техники «Эталонприбор» располагает своим собственным ремонтным сервисом, где Вы можете получить услуги по: ремонту, наладке, калибровке, гарантийному и послегарантийному обслуживанию измерительного оборудования, как приобретенного у нас, так и у других поставщиков. Сервис работает на основе лицензии, выданной Ростехрегулированием РФ.
