Клапан предохранительный со свободным истечением Armak 782 предназначен для защиты систем от повышения давления выше допустимого путем сброса рабочей среды непосредственно в окружающую среду.
Рабочая среда | воздух, водяной пар, вода и другие нейтральные газы и пары |
Номинальный диаметр, мм | 10, 15, 20, 25 |
Максимальная температура, °C | 120 |
Давление начала открывания, бар | Номинальный диаметр, мм | Коэффициенты истечения |
для паров и газов | ||
b1 =10% | ||
1,1-25 | 10 | 0,65 |
1,1-22 | 15 | 0,65 |
0,7-20 | 20 | 0,65 |
0,7-16 | 25 | 0,57 |

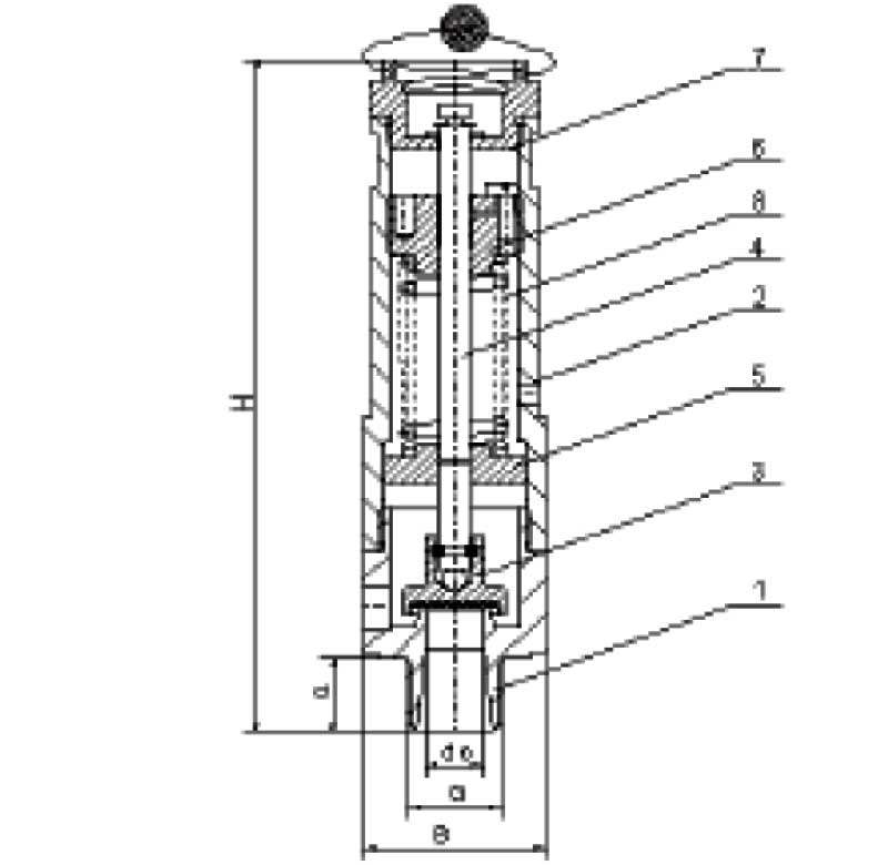
Схема - конструкция клапана
| Наименование детали | Материал |
| Сопло | CuZn40Pb2 |
| Колпак | CuZn40Pb2 |
| Тарелка | CuZn40Pb2/EPDM |
| Стержень | CuZn40Pb2 |
| Тарелка пружины | CuZn40Pb2 |
| Регулирующая гайка | CuZn40Pb2 |
| Верхняя гайка | CuZn40Pb2 |
| Пружина | CuZn40Pb2 |
| DN | Седло | Вход | H | S | Масса | ||
| Проход | Сечение | ||||||
| мм | d0 | A | G | a | |||
| мм | мм | мм | кал | мм | мм | кг | |
| 10 | 10 | 78,5 | 3/8 | 13 | 120 | 32 | 0,415 |
| 15 | 12 | 113 | 1/2 | 13 | 120 | 32 | 0,415 |
| 20 | 16 | 201 | 3/4 | 15 | 122 | 34 | 0,435 |
| 25 | 20 | 314 | 1 | 17 | 128 | 42 | 0,460 |
ДОСТАВКА
Вы можете выбрать любой наиболее удобный способ из перечисленных ниже:
Доставка до терминала ТК «Деловые линии» осуществляется нами бесплатно.
ОПЛАТА
Мы принимаем оплату:
Цены на поставляемые нами товар всегда ниже, чем у наших конкурентов.
Условия гарантийного обслуживания
Гарантия не распространяется на ущерб, причиненный другому оборудованию, работающему вместе с данным изделием.
Центр измерительной техники «Эталонприбор» располагает своим собственным ремонтным сервисом, где Вы можете получить услуги по: ремонту, наладке, калибровке, гарантийному и послегарантийному обслуживанию измерительного оборудования, как приобретенного у нас, так и у других поставщиков. Сервис работает на основе лицензии, выданной Ростехрегулированием РФ.
