Клапан предохранительный УФ 53051 предназначен для защиты оборудования и трубопроводов от превышения давления сверх допустимого в системах и оборудовании АЭС с реакторами ми ВВЭР
| Тип корпуса | угловой |
| Материал корпуса | сталь 12Х18Н10Т |
| Уплотнение по штоку | сильфонное |
| Способ принудительного подрыва | ручной |
| Принцип действия | клапан прямого действия с пружинной нагрузкой |
| Направление подачи рабочей среды | в нижний патрубок, под золотник; на золотник |

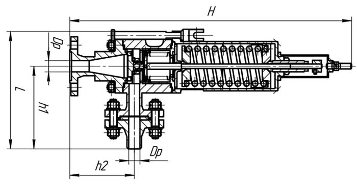
Схема - конструкция клапана
ДОСТАВКА
Вы можете выбрать любой наиболее удобный способ из перечисленных ниже:
Доставка до терминала ТК «Деловые линии» осуществляется нами бесплатно.
ОПЛАТА
Мы принимаем оплату:
Цены на поставляемые нами товар всегда ниже, чем у наших конкурентов.
Условия гарантийного обслуживания
Гарантия не распространяется на ущерб, причиненный другому оборудованию, работающему вместе с данным изделием.
Центр измерительной техники «Эталонприбор» располагает своим собственным ремонтным сервисом, где Вы можете получить услуги по: ремонту, наладке, калибровке, гарантийному и послегарантийному обслуживанию измерительного оборудования, как приобретенного у нас, так и у других поставщиков. Сервис работает на основе лицензии, выданной Ростехрегулированием РФ.
