Клапан предохранительный УФ 55178-015 предназначен для защиты оборудования и трубопроводов от превышения давления сверх допустимого в системах и оборудовании АЭС с реакторами ми ВВЭР.
Технические условия | УФ 55178-015 ТУ |
Диаметр номинальный вход/выход | DN 15 / DN 32 |
Диапазон давлений настройки равное рабочему давлению | 17 МПа (173,3 кгс/см2) |
Температура рабочей среды | до 60 °C |
Среда рабочая | вода промконтура |
Давление полного открытия | до 19,55 МПа (199,3 кгс/см2) |
Давление закрытия | 15,3 МПа (156 кгс/см2) |
Противодавление на выходе из клапана | атмосферное |
Материал стыкуемой трубы | сталь 08Х18Н10Т |
Классификационное обозначение | 2Blla |
Место установки | под оболочкой (в гермозоне |
Стыкуемая труба вход/выход | 18х2,5 / 38х3,5 |
Диаметр расточки вход/выход | 13 / 31 |
Тип разделки вход/выход по ПНАЭ Г-7-009-89 | С-23 |
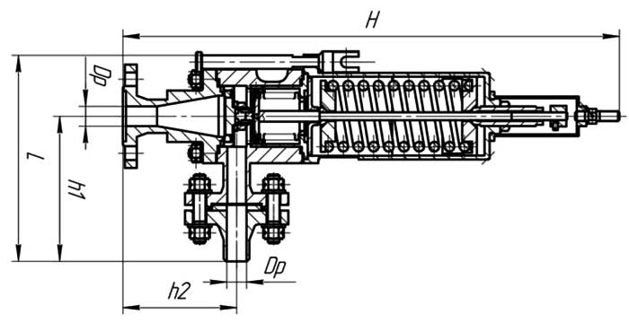
L | 164 мм |
H | 523 мм |
h1 | 97 мм |
h2 | 170 мм |
Масса | 26 кг |

Схема - конструкция клапана
ДОСТАВКА
Вы можете выбрать любой наиболее удобный способ из перечисленных ниже:
Доставка до терминала ТК «Деловые линии» осуществляется нами бесплатно.
ОПЛАТА
Мы принимаем оплату:
Цены на поставляемые нами товар всегда ниже, чем у наших конкурентов.
Условия гарантийного обслуживания
Гарантия не распространяется на ущерб, причиненный другому оборудованию, работающему вместе с данным изделием.
Центр измерительной техники «Эталонприбор» располагает своим собственным ремонтным сервисом, где Вы можете получить услуги по: ремонту, наладке, калибровке, гарантийному и послегарантийному обслуживанию измерительного оборудования, как приобретенного у нас, так и у других поставщиков. Сервис работает на основе лицензии, выданной Ростехрегулированием РФ.
