Клапан регулирующий УФ 68017-050Р предназначен для использования в качестве регулирующих устройств в системах и оборудовании АЭС с реакторами ВВЭР.
Направление подачи среды | под золотник (плунжер) |
Тип корпуса | проходной, соосный |
Управление клапаном | ручное |

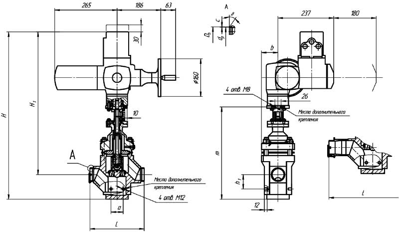
Конструктивная схема клапана №1

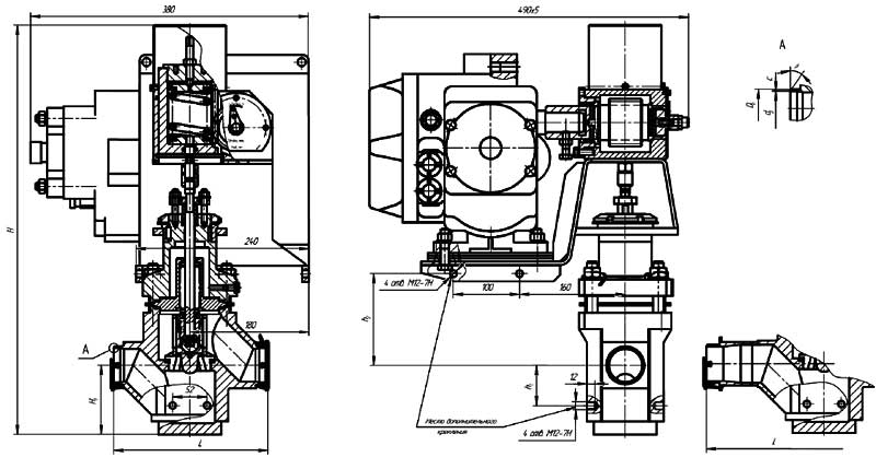
Конструктивная схема клапана №2
ДОСТАВКА
Вы можете выбрать любой наиболее удобный способ из перечисленных ниже:
Доставка до терминала ТК «Деловые линии» осуществляется нами бесплатно.
ОПЛАТА
Мы принимаем оплату:
Цены на поставляемые нами товар всегда ниже, чем у наших конкурентов.
Условия гарантийного обслуживания
Гарантия не распространяется на ущерб, причиненный другому оборудованию, работающему вместе с данным изделием.
Центр измерительной техники «Эталонприбор» располагает своим собственным ремонтным сервисом, где Вы можете получить услуги по: ремонту, наладке, калибровке, гарантийному и послегарантийному обслуживанию измерительного оборудования, как приобретенного у нас, так и у других поставщиков. Сервис работает на основе лицензии, выданной Ростехрегулированием РФ.
