Короб угловой КУН (45 градусов) предназначен для прокладки проводов и кабелей напряжением до 1000 В для открытых электропроводок и открытой проводки кабельных линий.

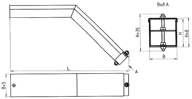
Схема - габаритные размеры
Короб | Габаритные размеры, мм | Масса, кг | |||
H, мм | B, мм | А, мм | S, мм | ||
КУН-0,05/0,1-45 | 50 | 100 | 337 | 1,5 | 2,45 |
КУН-0,1/0,1-45 | 100 | 100 | 500 | 1,5 | 4,60 |
КУН-0,1/0,2-45 | 200 | 500 | 1,5 | 6,30 | |
КУН-0,1/0,3-45 | 300 | 500 | 1,5 | 8,15 | |
КУН-0,1/0,4-45 | 400 | 500 | 1,5 | 9,75 | |
КУН-0,1/0,5-45 | 500 | 500 | 1,5 | 11,25 | |
КУН-0,15/0,3-45 | 150 | 300 | 620 | 1,5 | 10,25 |
КУН-0,15/0,4-45 | 400 | 620 | 1,5 | 12,35 | |
КУН-0,15/0,5-45 | 500 | 620 | 1,5 | 14,35 | |
КУН-0,2/0,2-45 | 200 | 200 | 660 | 1,5 | 9,20 |
Соединение элементов коробов выполняется болтами. Электрический контакт в местах соединения обеспечивается заземляющими шайбами.
Короба КУН 45 устанавливают на сборных кабельных конструкциях при помощи скоб на элементах строительных и технологических конструкций.
ДОСТАВКА
Вы можете выбрать любой наиболее удобный способ из перечисленных ниже:
Доставка до терминала ТК «Деловые линии» осуществляется нами бесплатно.
ОПЛАТА
Мы принимаем оплату:
Цены на поставляемые нами товар всегда ниже, чем у наших конкурентов.
Условия гарантийного обслуживания
Гарантия не распространяется на ущерб, причиненный другому оборудованию, работающему вместе с данным изделием.
Центр измерительной техники «Эталонприбор» располагает своим собственным ремонтным сервисом, где Вы можете получить услуги по: ремонту, наладке, калибровке, гарантийному и послегарантийному обслуживанию измерительного оборудования, как приобретенного у нас, так и у других поставщиков. Сервис работает на основе лицензии, выданной Ростехрегулированием РФ.
