Многоканальная система РУПТ-МН-РС64 предназна-чена для измерения и сигнализации уровня жидко-сти, границы раздела двух жидких сред с различ-ной плотностью, в том числе высоковязких нефтепродуктов и сжиженных газов в резервуарных парках.
Количество ПП, наличие и количество БДУ, а также наличие монитора и принтера в комплекте поставки определяется заказчиком.
| Длина линии связи между ПП и МБУ | до 1500 м |
| Напряжение питания переменного тока | 220(+22/-33) В |
| Частота тока | 50±1 Гц |
| Потребляемая мощность | не более 230 ВА |
Габаритные размеры, мм:
| (Н+1100)х260х225 |
Масса, кг
| 20 |
Система РУПТ-МН-РС64 применяется при учетных и технологи-ческих операциях на нефтехранили-щах, хранилищах сжиженного газа, A3C и АГЗС станциях и других предприятиях различных отраслей про-мышленности.
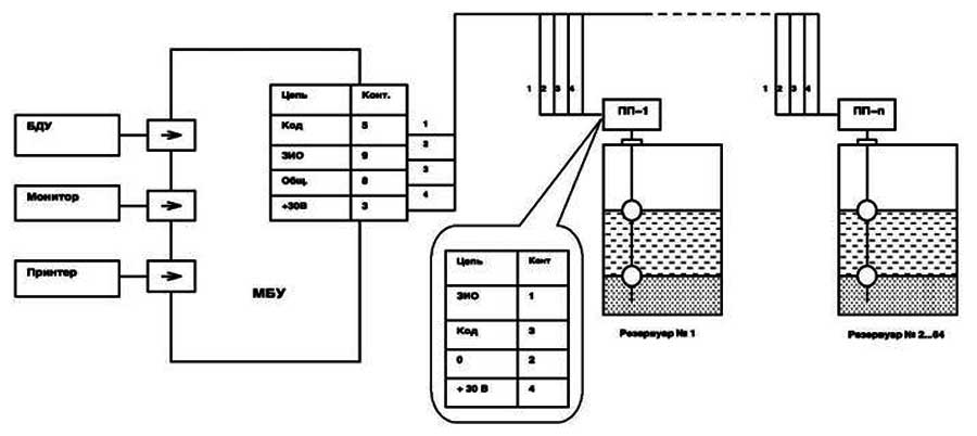
Система состоит из микропроцессорного блока управления (МБУ), первичных преобразователей (ПП) уровня и температуры, блоков дискретных ус-тавок (БДУ) и монитора. Устанавливается на объекте с возмож-ностью одновременного контроля уровня жидкой среды в 64 резервуарах.
При применении РУПТ-МН-РС64 для систем измерения уровня нефтепродуктов, сжиженного газа для автозаправочных (АЗС) и автогазозаправочных (АГЗС) станций, многоканальная система обеспечивает измерение и контроль следующих параметров:

Примерная конфигура-ция системы, а также варианты размещения пер-вичных преобразователей (ПП)

Габаритные и присоединительные размеры преобразователя первичного (ПП) для измерения уровня жидкости

Габаритные и присоединительные размеры преобразователя (ПП) для измерения уровня двух несмешивающихся жидких сред

Схема внешних соединений системы для измерения уровня и границы раздела сред

Схема соединений системы для измерения объема и массы продукта
Вклю-чается МБУ и посредством его пульта управления запускается программа измерения уровня (гра-ницы раздела сред), заложенная в память блока. Затем МБУ подает питание на каждый ПП, осу-ществляя автоматический циклический их опрос. Каждые 30 мин данные для всех резервуаров ав-томатически сохраняются на жестком диске МБУ, что позволяет сохранить информацию при внезапном сбое питания. В МБУ поступивший с ПП сигнал обрабатывает-ся и выводится на монитор. При достижении контролируемым уровнем жидкой среды аварийных значений БДУ выдает сигнал на отключение/включение технологичес-кого оборудования.
Оператор может по своему усмотрению опро-сить любой из ПП и тем самым проконтролиро-вать уровень жидкой среды или уровень раздела сред в соответствующем резервуаре.
ДОСТАВКА
Вы можете выбрать любой наиболее удобный способ из перечисленных ниже:
Доставка до терминала ТК «Деловые линии» осуществляется нами бесплатно.
ОПЛАТА
Мы принимаем оплату:
Цены на поставляемые нами товар всегда ниже, чем у наших конкурентов.
Условия гарантийного обслуживания
Гарантия не распространяется на ущерб, причиненный другому оборудованию, работающему вместе с данным изделием.
Центр измерительной техники «Эталонприбор» располагает своим собственным ремонтным сервисом, где Вы можете получить услуги по: ремонту, наладке, калибровке, гарантийному и послегарантийному обслуживанию измерительного оборудования, как приобретенного у нас, так и у других поставщиков. Сервис работает на основе лицензии, выданной Ростехрегулированием РФ.
