по РФ бесплатно
пн-пт 9:00-18:00
пн-пт 9:00-18:00
по РФ бесплатно
Ваш город
Нет
Да
КОНТАКТНАЯ ИНФОРМАЦИЯ
Телефоны:8 (800) 777-30-09 (по РФ бесплатно), 8 (495) 748-30-09, 748-30-60, 664-28-44.
Адрес:141006, Московская обл., г. Мытищи, Олимпийский пр-т, д. 29, стр. 2, офис 43/1.
УВАЖАЕМЫЕ КЛИЕНТЫ!
Цены на сайте могут отличаться, просьба уточнять конечную стоимость у наших менеджеров!
TMM-540


ПР200-24.3.1.0

Цена:
15 567
Общая стоимость 0 руб.
В корзину
Купить в 1 клик
Нашли дешевле?
Снизим цену!
В избранное
Стоимость доставки от 800 ₽ (уточнять у менеджера)
Срок доставки: 2 - 10 дней при наличии товара на складе
Бесплатная доставка от 50000₽
Безналичный расчет для юридических лиц
Самовывоз со склада компании ЭТАЛОНПРИБОР
Более 350 брендов
Самые лучшие
цены
Техническая
документация
Быстрая доставка
по России
Сервисный
центр
  • Описание
  • Доставка и оплата
  • Гарантия и возврат
  • Отзывы
  • Сервис
Описание

ОВЕН ПР200 – это свободно программируемое реле. Применяется для решения локальных задач автоматизации: водоподготовка, водоочистка, вентиляция, отопление и др.

Написание алгоритма осуществляется пользователем с помощью бесплатной среды программирования OWEN Logic. Подключение к ПК производится посредством стандартного MiniUSB-кабеля (USB – MiniUSB). Для интеграции в SCADA-системы и управления внешними устройствами в прибор может быть установлено до 2-х интерфейсов RS-485 с поддержкой протоколов Modbus RTU/ASCII.

Для увеличения количества дискретных входов/выходов программируемого реле ОВЕН ПР200 применяются модули расширения ОВЕН ПРМ.

  • Напряжение питания: ~230 В или =24 В.
  • Встроенный источник питания =24 В для питания датчиков с аналоговым выходом (в модификациях на 230 В и аналоговыми входами).
  • 4 аналоговых входа 4…20 мА, 0…10 В, 0…4 кОм. Могут работать в режиме дискретного входа.
  • Встроенный шунтирующий резистор для входа 4…20 мА.
  • Аналоговые выходы 0…10 В или 4…20 мА.
  • Дискретные выходы: э/м реле или транзисторные ключи.
  • До двух встроенных интерфейсов RS-485.
  • USB-порт – для программирования (miniUSB).
  • Встроенные часы реального времени, срок службы 10 лет.
  • Гальваническая развязка входов до 2830 В.
  • Экспорт данных в OwenCloud.

Возможности символьного индикатора ПР200

  • Видимая область символьного индикатора: 2 строки по 16 символов.
  • Поддержка кириллицы и латиницы.
  • Возможность корректировки параметров программы пользователя.
  • Возможность корректировки параметров прибора (сменить тип датчика, масштабировать шкалу измерений, настроить яркость подсветки, изменить настройки портов и т.п.)

Конструктивные особенности

  • Автоматный корпус
  • Ширина корпуса 7 «автоматов» (7din), что позволит разместить прибор как в большом шкафу, так и в малом с автоматическими выключателями.
  • Съемные клеммники – для удобства монтажа.
  • «Ключи» для предотвращения неправильного подключения.

Модули расширения и аксессуары для ПР200

Интерфейсная плата ПР-ИП485

Интерфейсная плата ПР-ИП485

Интерфейсная плата ОВЕН ПР-ИП485 применяется для добавления интерфейса RS-485 в программируемое реле ОВЕН ПР200 (необходимость оговаривается при заказе). Всего можно установить два интерфейса RS-485. Интерфейсная плата может устанавливаться пользователем самостоятельно.

Модуль расширения ОВЕН ПРМ

Модуль расширения ОВЕН ПРМ

Модули расширения ОВЕН ПРМ предназначены для увеличения количества входов и выходов программируемого реле ОВЕН ПР200:

  • ПРМ-1 – для увеличения дискретных входов и выходов;
  • ПРМ-3 – для увеличения аналоговых входов и выходов.

Подключение модулей осуществляется по внутренней шине. К ПР200 можно подключить до двух модулей расширения ввода/вывода. Модули имеют свое независимое питание, что повышает надежность системы. Выпускаются две модификации по питанию: 230 В и 24 В, причем можно использовать ПР200 и модули ПРМ с разным типом питания.

Основные технические характеристики

Модификации ПР200

Модификация

Питание

Встроенный

блок

питания

Входы

Выходы

RS-485, шт

Всего

DI

AI

Всего

DO

AO

(выбирается

при заказе)

ПР200-220.1.х

~230 В

8

8 ДФ

6

6 Р

0, 1, 2

ПР200-220.2.х

~230 В

100 мА

12

8 ДФ

4 А

10

8 Р

2 И

0, 1, 2

ПР200-220.3.х

~230 В

100 мА

12

8 ДФ

4 А

8

8 Р

0, 1, 2

ПР200-220.4.х

~230 В

100 мА

12

8 ДФ

4 А

10

8 Р

2 У

0, 1, 2

ПР200-220.5.х

~230 В

100 мА

12

8 ДФ

4 А

12

8 Р

4 К

0, 1, 2

ПР200-220.21.х

~230 В

8

8 Д

6

6 Р

0, 1, 2

ПР200-220.22.х

~230 В

100 мА

12

8 Д

4 А

10

8 Р

2 И

0, 1, 2

ПР200-220.23.х

~230 В

100 мА

12

8 Д

4 А

8

8 Р

0, 1, 2

ПР200-220.24.х

~230 В

100 мА

12

8 Д

4 А

10

8 Р

2 У

0, 1, 2

ПР200-220.25.х

~230 В

100 мА

12

8 Д

4 А

12

8 Р

4 К

0, 1, 2

ПР200-24.1.х

=24 В

8

8 Д

6

6 Р

0, 1, 2

ПР200-24.2.х

=24 В

12

8 Д

4 А

10

8 Р

2 И

0, 1, 2

ПР200-24.3.х

=24 В

12

8 Д

4 А

10

8 Р

0, 1, 2

ПР200-24.4.х

=24 В

12

8 Д

4 А

10

8 Р

2 У

0, 1, 2

ПР200-24.5.х

=24 В

12

8 Д

4 А

12

8 Р

4 К

0, 1, 2

Дискретные входы

Тип дискретного входа

ДФ

дискретный фазовый

(в модиф. ПР200-220.х.х)

Д

дискретный

(в модиф. ПР200-24.х.х, ПР200-220.2х)

А
аналоговый при использовании в дискретном режиме

Тип подключаемых датчиков

коммутационные устройства (контакты кнопок, выключателей, герконов, реле и т.п.)

датчики, имеющие на выходе транзистор p-n-p типа с открытым коллектором

Напряжение питания дискретных входов

90...264 В

15…30 В

15…30 В

Максимальный ток дискретного входа

не более 1,5 мА

не более 5 мА

не более 5 мА

Ток «логической единицы»

0,75…1,5 мА

3…5 мА

3…5 мА

Ток «логического нуля»

0...0,5 мА

0...1 мА

0...1 мА

Уровень «логической единицы»

159…264 В

15…30 В

Задается программно из диапазона 0…10 В

Уровень «логического нуля»

0…40 В

-3…+5 В

-3…+5 В

Гальваническая развязка

групповая по 4 входа (1-4, 5-8)

Электрическая прочность изоляции

2830 В, групповая – 1780 В

Аналоговые входы

Тип аналогового входа

А

Тип измеряемых сигналов

0…10 В
4…20 мА
0…4 кОм

Входное сопротивление

61 кОм

Предел основной приведенной погрешности

±0,5 %

Разрешающая способность АЦП

12 бит

Период обновления результатов измерения четырех каналов

не более 10 мс

Дополнительная приведенная погрешность, вызванная изменением температуры на 10 °С в пределах рабочего диапазона температур

±0,25 %

Дискретные выходы

Тип дискретного выходаРК
Максимально допустимый ток нагрузки5 А при напряжении не более 250 В переменного тока и cosφ > 0,95; 3 А при напряжении не более 30 В200 мА при напряжении не более 60 В

Аналоговые выходы

Тип аналогового выхода

И

У

Диапазон выхода

4…20 мА

0…10 В

Функциональная схема

Габаритные размеры ОВЕН ПР200

Схемы подключения

Общая схема подключения ПР200

Общая схема подключения ПР200

Схемы подключения датчиков

Подключение дискретных датчиков =24 В с выходом типа «сухой контакт» (для модификаций ПР200-24, ПР200-220.2Х)
Подключение дискретных датчиков ~220 В с выходом типа «сухой контакт» ( Для модификаций ПР200-220.х, кроме ПР200-220.2Х)
Схема подключения к ПР200 трехпроводных дискретных датчиков, имеющих выходной транзистор p-n-p–типа с открытым коллектором

Схемы подключения к аналоговым входам

Подключение активного датчика с выходом типа «Ток 4…20 мА» (к входам I10… I12 аналогично)
Подключение активных датчиков с выходом типа «Напряжение 0…10 В» (к входам I10… I12 аналогично)
Подключение сопротивления с диапазоном 0…4000 Ом

Схемы подключения нагрузки

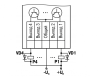
Схема подключения нагрузки к ВЭ типа Р
Схема подключения нагрузки к ВЭ типа И
Схема подключения нагрузки к ВЭ типа У
Схема подключения нагрузки к ВЭ типа К

Комплект поставки

  • Прибор ПР200
  • Краткое руководство по эксплуатации
  • Паспорт и гарантийный талон
  • Комплект клеммных соединителей
Развернуть полное описание
Доставка и оплата

ДОСТАВКА

Вы можете выбрать любой наиболее удобный способ из перечисленных ниже:

  • Самовывоз со склада компании ЭТАЛОНПРИБОР
  • Доставка через транспортную компанию "Деловые линии"
  • Доставка экспресс - почтой "ПОНИ-ЭКСПРЕСС" до двери
  • Доставка по Москве и области нашими экспедиторами и курьерами
  • Доставка через транспортную компанию "ПЭК"
  • Отправка посылкой с помощью Почты России
  • Доставка через транспортную компанию покупателя

Доставка до терминала ТК «Деловые линии» осуществляется нами бесплатно.

ОПЛАТА

Мы принимаем оплату:

  • по безналичному расчету
  • перечислением денежных средств на расчетный счет для юридических лиц
  • банковским переводом для физических.

Цены на поставляемые нами товар всегда ниже, чем у наших конкурентов.

Гарантия и возврат

Условия гарантийного обслуживания

  1. Гарантия действительна только при наличии гарантийного талона с указанием заводского номера изделия, гарантийного срока и печати поставщика.
  2. Гарантия предусматривает бесплатный ремонт изделия или замену запасных частей, комплектующих в течении гарантийного срока, указанного в гарантийном талоне.
  3. Заводской номер и наименование изделия должны соответствовать указанным в гарантийном талоне.
  4. Изделие снимается с гарантийного обслуживания в следующих случаях:
    1. Нарушения условий эксплуатации, изложенных в технической документации изделия, которые привели к выходу изделия из строя, включая неисправности, вызванные использованием нештатных аксессуаров;
    2. Нарушения гарантийных пломб, в случае наличия следов вскрытия или взлома корпуса изделия;
    3. Ремонта в неуполномоченном сервисном центре или самостоятельно (кроме элементов и источников питания, замена которых предусмотрена производителем);
    4. Использования изделия не по назначению;
    5. Нарушения правил хранения и транспортирования;
    6. Наличия внешних механических повреждений, включая повреждения разъёмов и контактов;
    7. Наличия внешних повреждений, вызванных стихией, пожаром, молнией, высоким напряжением;
    8. Попадания внутрь влаги, инородных предметов и т.п.
    9. Неправильном включении в сеть.
  5. Гарантия не распространяется на расходные материалы и прочие детали, имеющие ограниченный срок службы: элементы питания (в т.ч. аккумуляторы), имеющие ограниченную прочность.
  6. Недополученная в связи с появлением неисправности прибыль и другие косвенные расходы не подлежат возмещению.

Гарантия не распространяется на ущерб, причиненный другому оборудованию, работающему вместе с данным изделием.

Отзывы
Отзывы о товаре ПР200-24.3.1.0
Сервис

Центр измерительной техники «Эталонприбор» располагает своим собственным ремонтным сервисом, где Вы можете получить услуги по: ремонту, наладке, калибровке, гарантийному и послегарантийному обслуживанию измерительного оборудования, как приобретенного у нас, так и у других поставщиков. Сервис работает на основе лицензии, выданной Ростехрегулированием РФ.

 
Подробнее
 
Сервисное обслуживание
Простой обмен и возврат
Поможем решить любую проблему с товаром
Собственный сервисный центр
Устраним любую неисправность по гарантии. Срок указан без учета логистики
Сервисы по всей России
Обращайтесь за обслуживанием в авторизованные сервисы производителя
Похожие товары
 
Полезные статьи
При выборе манометра необходимо учитывать ряд важных факторов, чтобы прибор подходил для конкретной системы.
Уровень влажности в помещении играет важную роль в формировании оптимальных условий для комфортного пребывания. Для определения этого параметра используются устройства, называемые гигрометрами. В этой статье мы расскажем, как выбрать подходящее оборудование такого типа для различных объектов.
Осциллограф — это прибор для наблюдения, измерения, записи и анализа амплитудных и временных характеристик электрического сигнала. Подаваемый на вход устройства, он отображается либо на экране, либо фиксируется на фотоленте для последующего изучения.
Если вы задумались о приобретении мультиметра, важно заранее ознакомиться с рядом полезных рекомендаций, которые помогут сделать правильный выбор. Мы подготовили небольшую статью, которая, надеемся, окажется полезной.
Цифровой тахометр — это прибор, предназначенный для измерения частоты вращения различных объектов, таких как валы, двигатели и роторы. В отличие от аналоговых моделей, цифровые тахометры обеспечивают высокую точность измерений и удобство использования благодаря современным технологиям и информативному дисплею. Они широко используются в самых разных отраслях: от автомобильного сервиса и промышленности до научных исследований и контроля вентиляционных систем.
Мегаомметр – это специализированный прибор, предназначенный для измерения сопротивления изоляции электрических цепей и оборудования. В условиях современного мира, где электричество играет ключевую роль во всех сферах жизни, обеспечение безопасности и надежности электрических систем становится особенно важным. От качества изоляции проводников и оборудования зависит не только эффективность их работы, но и безопасность людей и объектов, которые они обслуживают.
Измерительные приборы играют ключевую роль в различных отраслях, начиная от промышленности и строительства, заканчивая медициной и научными исследованиями. Правильная эксплуатация и уход за этими приборами являются залогом точных измерений и долговечности оборудования.
Осциллографы играют ключевую роль в современных лабораториях и на производственных предприятиях, являясь незаменимым инструментом для анализа и визуализации электрических сигналов. Независимо от того, являетесь ли вы инженером-электронщиком, студентом технического вуза или энтузиастом электроники, понимание принципов работы осциллографов, их видов и характеристик, а также правил эксплуатации и ухода за ними, имеет первостепенное значение.
Амперметр предназначен для измерения величины тока в электрических цепях, выраженной в амперах. В основе его работы лежит простой принцип: инструмент позволяет наглядно увидеть мощность тока, потребляемого устройствами, подключенными к сети. Обычно амперметр подключают в цепь с нагрузкой, поэтому ток, протекающий через него, идентичен току, проходящему через любой другой элемент цепи, будь то нагреватель, мотор или лампочка.
На этапах возведения, отделки и монтажа различных сооружений большую роль играют точность разметки и идеальное выравнивание. Достижение профессиональных стандартов качества возможно при использовании лазерного нивелира. Для выбора подходящей модели целесообразно ознакомиться с механизмом работы этих устройств.
Новинки
Недавно просмотренные