Термопреобразователь ТСМ-0987 используется для измерения температуры воздуха в помещениях различного назначения.
| Параметры | Значения |
| Рабочий диапазон измеряемых температур, °С | от -50 до +100 |
| Условное обозначение НСХ преобразования (ГОСТ 6651) | 50М |
| Класс допуска (ГОСТ 6651) | В |
| Схематическое изображение соединений (ГОСТ 6651) | 2 |
| Показатель тепловой инерции в потоке воздуха, движущегося относительно термопреобразователя со скоростью 0,5 м/с, с, не более | 70 |
| Материал защитной арматуры | сталь 12Х18Н10Т |
| Материал корпуса | прессматериал АГ-4В или фенопласт |
| Исполнение корпуса | водозащищенное |
Принцип действия термометра на изменении сопротивления в зависимости от температуры чувствительного элемента.
| Обозначение | НСХ | Рис. | Масса, кг, не более | Материал корпуса |
| 5Ц2.822.024 | 100П | 1 | 0,085 | Прессматериал АГ-4В ГОСТ 20437 |
| -01 | 50М | |||
| -02 | 100П | 2 | 0,080 | |
| -03 | 50М | |||
| -04 | 100П | 1 | 0,082 | Фенопласт 03-010-02 по нормативной документации поставщика |
| -05 | 50М | |||
| -06 | 100П | 2 | 0,077 | |
| -07 | 50М | |||
| -08 | 100П | 1 | 0,082 | Фенопласт Ж3-010-62 по нормативной документации поставщика |
| -09 | 50М | |||
| -10 | 100П | 2 | 0,077 | |
| -11 | 50М |

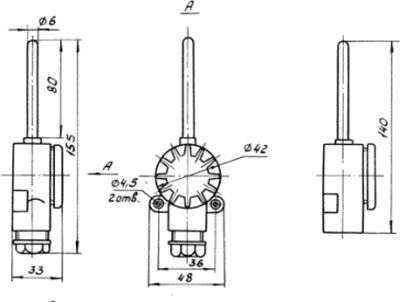
Рис.1. Габаритный чертеж термопреобразователя ТСМ-0987
Термопреобразователи широко применяется в энергетической и химической промышленности, в различных отраслях народного и сельского хозяйства.
ДОСТАВКА
Вы можете выбрать любой наиболее удобный способ из перечисленных ниже:
Доставка до терминала ТК «Деловые линии» осуществляется нами бесплатно.
ОПЛАТА
Мы принимаем оплату:
Цены на поставляемые нами товар всегда ниже, чем у наших конкурентов.
Условия гарантийного обслуживания
Гарантия не распространяется на ущерб, причиненный другому оборудованию, работающему вместе с данным изделием.
Центр измерительной техники «Эталонприбор» располагает своим собственным ремонтным сервисом, где Вы можете получить услуги по: ремонту, наладке, калибровке, гарантийному и послегарантийному обслуживанию измерительного оборудования, как приобретенного у нас, так и у других поставщиков. Сервис работает на основе лицензии, выданной Ростехрегулированием РФ.
