Оповещатели звуковые Сирена С-02-12 предназначены для подачи световых и звуковых сигналов в системах тревожной сигнализации (охранной, пожарной, газовой и др.) помещений, зданий и сооружений. Оповещатели предназначены для непрерывной (круглосуточной) работы внутри помещений.
Оповещатель выполнен в пластмассовом корпусе из полистирола. Внутри корпуса расположена плата с электронными компонентами и выводами для подключения источника питания. Исполнительным элементом является пьезоизлучатель – источник звукового сигнала. Оповещатель выдает звуковой сигнал при подаче на него напряжения питания 12 В постоянного тока.

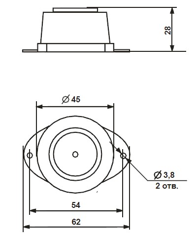
Рис.1 Схема габаритов оповещателя Сирена С-02-12
| Параметры | С-02-12 | |
| Напряжение питания, В | 12 + |3| | |
| Потребляемый ток не более, мА | 60 | |
| Уровень звукового давления не менее, дБ | 85 | |
| Габаритные размеры, мм | 62х45х28 | |
| Масса не более, кг | 0.07 | |
| Степень защиты оболчки | IP44 | |
| Диапазон рабочих температур, °С | от -40 до +50 | |
ДОСТАВКА
Вы можете выбрать любой наиболее удобный способ из перечисленных ниже:
Доставка до терминала ТК «Деловые линии» осуществляется нами бесплатно.
ОПЛАТА
Мы принимаем оплату:
Цены на поставляемые нами товар всегда ниже, чем у наших конкурентов.
Условия гарантийного обслуживания
Гарантия не распространяется на ущерб, причиненный другому оборудованию, работающему вместе с данным изделием.
Центр измерительной техники «Эталонприбор» располагает своим собственным ремонтным сервисом, где Вы можете получить услуги по: ремонту, наладке, калибровке, гарантийному и послегарантийному обслуживанию измерительного оборудования, как приобретенного у нас, так и у других поставщиков. Сервис работает на основе лицензии, выданной Ростехрегулированием РФ.
