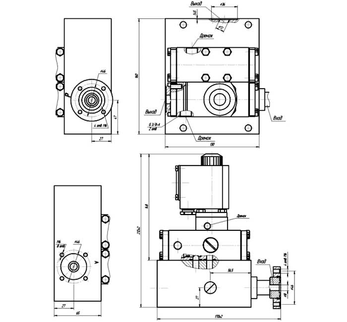
Блок управления пневмоприводной арматурой УФ 96569-012.00.00 предназначен для управления пневматическими приводами, в том числе быстродействующей отсечной арматурой, в системах обеспечения АЭС.
| Наименование параметра | Значение параметра |
| Технические условия | ТУ УЗ.22.14288275-070-2000 |
| Место установки | Вне оболочки, обслуживаемые помещения |
| Тип привода | Однопозиционный электромагнит |
| Температура рабочей среды, °С | от -10 до +60 |
| Расчетное давление, МПа | 5,5 |
| Рабочее давление, МПа | 4,5 ±0,5 |
| Номинальный диаметр | DN12 |
| Допускаемая негерметичность относительно внешней среды, м3/мкПа/с, не выше | 1,33 |
| Допускаемая негерметичность относительно внешней среды, л/мкм рт.ст/с, не более | 0,01 |
Пропуск среды в затворе, см3/час, не более:
|
6,0 |
| Масса, кг | 7,5 |
Блок управления УФ 96569-012.00.00 стыкуется с трубопроводом посредством фланцевого соединения и может устанавливаться в любом положении. Для сброса в дренаж используется закрепленная изогнутая труба.

Схема - габаритные размеры блока
ДОСТАВКА
Вы можете выбрать любой наиболее удобный способ из перечисленных ниже:
Доставка до терминала ТК «Деловые линии» осуществляется нами бесплатно.
ОПЛАТА
Мы принимаем оплату:
Цены на поставляемые нами товар всегда ниже, чем у наших конкурентов.
Условия гарантийного обслуживания
Гарантия не распространяется на ущерб, причиненный другому оборудованию, работающему вместе с данным изделием.
Центр измерительной техники «Эталонприбор» располагает своим собственным ремонтным сервисом, где Вы можете получить услуги по: ремонту, наладке, калибровке, гарантийному и послегарантийному обслуживанию измерительного оборудования, как приобретенного у нас, так и у других поставщиков. Сервис работает на основе лицензии, выданной Ростехрегулированием РФ.
