Клапан обратный канализационный фланцевый ZETKAMA 400B чугунный предназначен для пропуска рабочей среды в одном направлении и предотвращают течение обратного потока.
Материал корпуса | ковкий чугун | |
Номинальное давление, МПа | 1,6 | 1,0 |
Номинальный диаметр, мм | 50-150 (DN) | 200-500 (DN) |
Максимальная температура, °C | 70 | |

Схема - конструктивная схема клапана
| Наименование | Материал | |
| Корпус | EN-GJL-250 JL 1040 | |
| Крышка | EN-GJS-400-15 JS 1030 | |
| Шар | металл / NBR | |
| Уплотнительная прокладка | NBR | |
| Болт с двухсторонней резьбой + гайка | AISI 304 | |

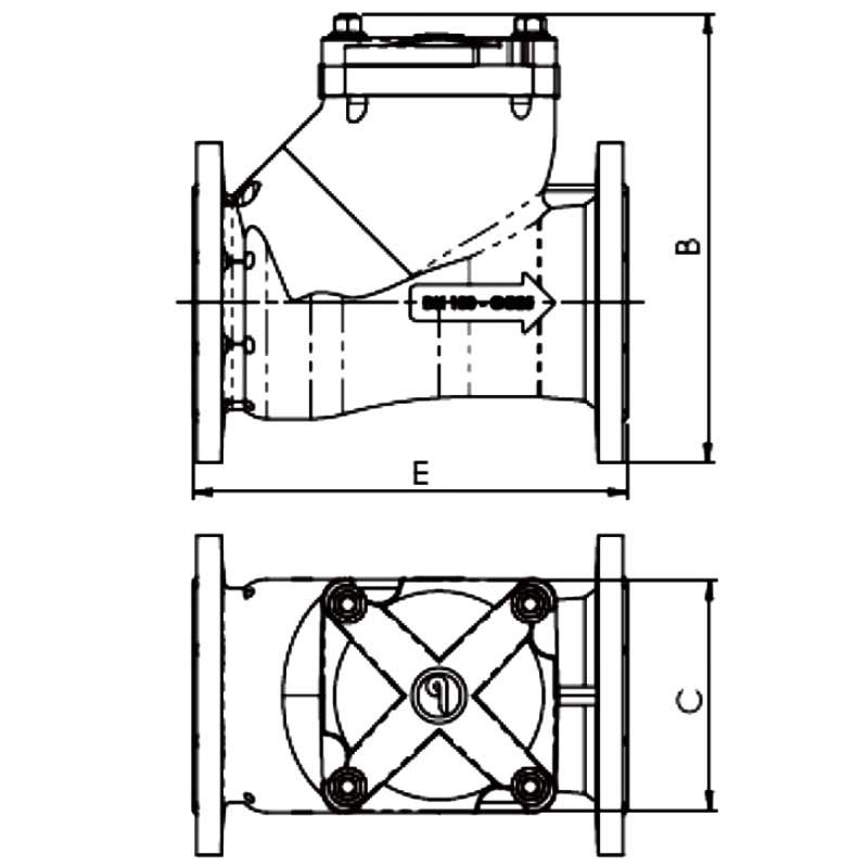
Схема - габаритные размеры клапана
| DN | A | B | C | E | Kvs | Масса |
| мм | м3/час | кг | ||||
| 50 | 165 | 180 | 95 | 200 | 90 | 8,5 |
| 65 | 185 | 210 | 114 | 240 | 140 | 12 |
| 80 | 200 | 240 | 128 | 260 | 253 | 15 |
| 100 | 220 | 285 | 160 | 300 | 369 | 22 |
| 125 | 250 | 330 | 200 | 350 | 642 | 34 |
| 150 | 285 | 390 | 230 | 400 | 962 | 45 |
| 200 | 340 | 480 | 320 | 500 | 1990 | 80 |
| 250 | 400 | 600 | 414 | 600 | 3100 | 135 |
| 300 | 450 | 680 | 460 | 700 | 4100 | 200 |
ДОСТАВКА
Вы можете выбрать любой наиболее удобный способ из перечисленных ниже:
Доставка до терминала ТК «Деловые линии» осуществляется нами бесплатно.
ОПЛАТА
Мы принимаем оплату:
Цены на поставляемые нами товар всегда ниже, чем у наших конкурентов.
Условия гарантийного обслуживания
Гарантия не распространяется на ущерб, причиненный другому оборудованию, работающему вместе с данным изделием.
Центр измерительной техники «Эталонприбор» располагает своим собственным ремонтным сервисом, где Вы можете получить услуги по: ремонту, наладке, калибровке, гарантийному и послегарантийному обслуживанию измерительного оборудования, как приобретенного у нас, так и у других поставщиков. Сервис работает на основе лицензии, выданной Ростехрегулированием РФ.
