Питатели импульсные смазочные (на планке диаметром 8 мм) находятся в составе смазочного оборудования и применяются для обеспечения дозирования подачи жидкости на узлы трения различных машин и механизмов. Эти питатели могут подавать только чистые минеральные масла, вязкость которых принадлежит диапазону: 10-600 мм2/с, а температура масла равна одному из значений интервала: +5-+50°С.
Существует два варианта исполнения данных питателей: одноотводные и многоотводные (2-х, 3-х, 4-х, 5-ти и т.д).
Питатели работают на чистых минеральных маслах кинематической вязкостью от 10 до 600 мм2/с (сСт) при температуре масла от +5°С до +50°С и окружающей среды от +1°С до +40°С.
Диаметр поршня | Число отводов питателя | Масса, кг | L max., мм |
| Макс. давление на входе, МПа - 3,2 | |||
| Макс. давление на выходе, МПа - 1,6 | |||
| Объем, подаваемый за цикл, см3 - 0,05; 0,1; 0,2; 0,32; 0,5 | |||
8 | 1 | 0,16 | 92 |
2 | 0,26 | 87 | |
3 | 0,35 | 87 | |
5 | 0,55 | 87 | |

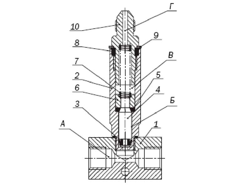
Схема устройства питателей
При подаче масла и повышении давления во входном отверстии А усики манжеты отгибаются, и масло заполняет полость Б, при этом клапан прижимается к кольцу, тем самым предохраняя перетечку масла из полости Б в полость В. Подвижная система поднимается вверх, и пружина сжимается. Масло, которое находится в полости В подаётся через выходное отверстие Г. Как только входное отверстие А соединяется со сливом, подвижная система (под действием пружины) стремится опуститься вниз, при этом в полости Б создаётся давление, манжета запирает проход из полости Б в полость А, и клапан открывается. При движении подвижной системы вниз доза масла перетекает из полости Б в полость В и таким образом происходит перезарядка дозатора. (Иногда импульсные питатели называют дозаторами).

Габаритные и присоединительные размеры питателей импульсных на планке

Габаритные и присоединительные размеры многоотводных импульсных смазочных питателей

Габаритные и присоединительные размеры одноотводных импульсных смазочных питателей
ДОСТАВКА
Вы можете выбрать любой наиболее удобный способ из перечисленных ниже:
Доставка до терминала ТК «Деловые линии» осуществляется нами бесплатно.
ОПЛАТА
Мы принимаем оплату:
Цены на поставляемые нами товар всегда ниже, чем у наших конкурентов.
Условия гарантийного обслуживания
Гарантия не распространяется на ущерб, причиненный другому оборудованию, работающему вместе с данным изделием.
Центр измерительной техники «Эталонприбор» располагает своим собственным ремонтным сервисом, где Вы можете получить услуги по: ремонту, наладке, калибровке, гарантийному и послегарантийному обслуживанию измерительного оборудования, как приобретенного у нас, так и у других поставщиков. Сервис работает на основе лицензии, выданной Ростехрегулированием РФ.
