Маслоуказатель МС-1 предназначен для определения и установки нормального уровня жидкого диэлектрика (трансформаторного масла) и для выдачи электрического сигнала при минимальном или максимальном уровне масла в расширительном баке масляного трансформатора или иного оборудования.
В стандартный набор поставки маслоуказателя МС-1 входит:
| Наименование | Значение |
| Место размещения при эксплуатации | на открытом воздухе |
| Положение | вертикальное |
| Диаметр циферблата | 245 mm |
| Напряжение постоянного тока | до 250 V |
| Напряжение переменного тока частотой 50…60 Hz | до 250 V |
| Ток | до 1 А |
| Коммутируемая мощность контактов | до 30 W |
| Средний срок службы до списания | 25 лет |
| Масса | 6.5 кг |
| Диаметр расширителя, мм | Условная длина рычага L, мм |
| 490 | - |
| 690 | 665 |
| 940 | 1120 |
| 1260 | 1610 |
| 1570 | 2090 |
Маслоуказатели маркируются так: МС1-Х-ХЛ1, где:
В состав маслоуказателя входит:

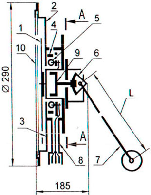
Рис.1. Схема маслоуказателя МС-1
ДОСТАВКА
Вы можете выбрать любой наиболее удобный способ из перечисленных ниже:
Доставка до терминала ТК «Деловые линии» осуществляется нами бесплатно.
ОПЛАТА
Мы принимаем оплату:
Цены на поставляемые нами товар всегда ниже, чем у наших конкурентов.
Условия гарантийного обслуживания
Гарантия не распространяется на ущерб, причиненный другому оборудованию, работающему вместе с данным изделием.
Центр измерительной техники «Эталонприбор» располагает своим собственным ремонтным сервисом, где Вы можете получить услуги по: ремонту, наладке, калибровке, гарантийному и послегарантийному обслуживанию измерительного оборудования, как приобретенного у нас, так и у других поставщиков. Сервис работает на основе лицензии, выданной Ростехрегулированием РФ.
