Разъединитель РД(З)-150/1250 У1 предназначен для включения и отключения обесточенных участков электрической цепи высокого напряжения, а также заземление отключенных участков с помощью заземлителей.
| Параметр | Значение | |
| Тип изделия | РД(З) - 150/1250 У1 | |
| Код ОКПО | 3414251001 - 1006 | |
| ТУ | ТУ У 05755559.009 - 99 | |
| № чертежа | ВЛИЕ.674215.0 21 | |
| Номинальное напряжение, кВ | 150 | |
| Наибольшее рабочее напряжение, | 170 | |
| Номинальный ток,А | 1250 | |
| Номинальный кратковременный выдерживаемый ток(ток термической стойкости) кА | 40 | |
| Номинальный пик номинального кратковременного выдерживаемого тока(ток электродинамической стойкости), кА | 100 | |
Время протекания тока термической стойкости, с
| 3 1 | |
Привод
| ручной, двигательный | |
| Количество ножей заземления | 0; 1; 2 | |
| Номинальное напряжения цепей блокировки и сигнализации, В | 220 | |
| Расстояние между полюсами, мм | 2500 | |

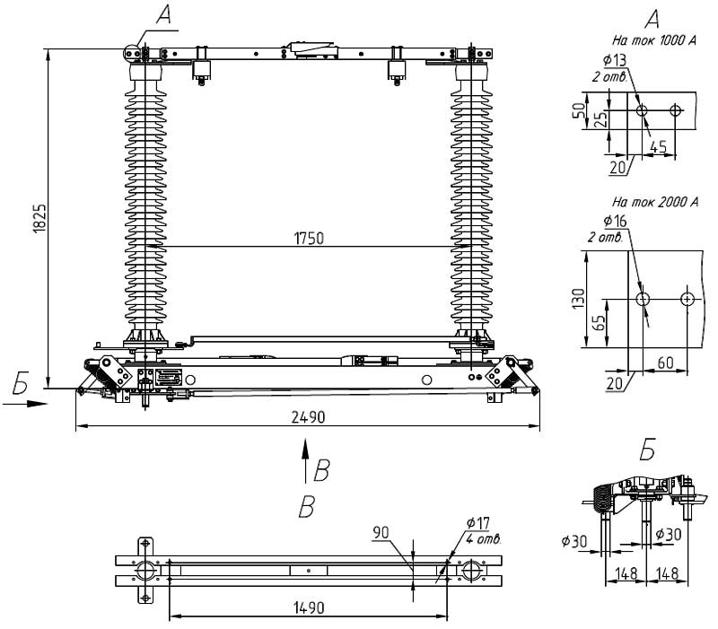
Схема - габаритные и присоединительные размеры разъедиинтеля
ДОСТАВКА
Вы можете выбрать любой наиболее удобный способ из перечисленных ниже:
Доставка до терминала ТК «Деловые линии» осуществляется нами бесплатно.
ОПЛАТА
Мы принимаем оплату:
Цены на поставляемые нами товар всегда ниже, чем у наших конкурентов.
Условия гарантийного обслуживания
Гарантия не распространяется на ущерб, причиненный другому оборудованию, работающему вместе с данным изделием.
Центр измерительной техники «Эталонприбор» располагает своим собственным ремонтным сервисом, где Вы можете получить услуги по: ремонту, наладке, калибровке, гарантийному и послегарантийному обслуживанию измерительного оборудования, как приобретенного у нас, так и у других поставщиков. Сервис работает на основе лицензии, выданной Ростехрегулированием РФ.
