Реле тока РЭО-401 2ТД.304.096-15,16 с б/к предназначено для защиты от перегрузок и токов короткого замыкания электродвигателей постоянного тока и асинхронных электродвигателей с фазным ротором переменного тока при частоте сети 50 Гц.
Без отрегулированной максимальной защиты работа крана недопустима.
Реле должно срабатывать при токе не выше 225% номинального и на 25% больше пускового тока двигателя.
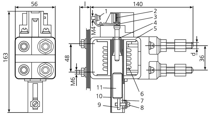
Электромагнитные системы реле имеют скобу магнитопровода с ввернутой в неё трубкой, на которой расположена втягивающая катушка на изоляционном каркасе.
Внутри трубки находится якорь, который имеет возможность свободного перемещения вдоль трубки. Положение якоря определяет величину тока срабатывания реле. При движении вверх якорь через толкатель размыкает контакты электрической блокировки.
Регулирование тока срабатывания реле РЭО-401 производится изменением положения скобы с фиксацией ее положения винтом. После этого якорь с толкателем возвращается в свое нижнее положение и контакты под действием пружины замыкаются.

Габаритная схема реле
Обозначения на схеме:
Номинальный ток втягивающей катушки, А | ПВ-100% | 16 |
ПВ-40% | 24 | |
Номинальный ток, А | 16 | |
Пределы регулирования тока срабатывания электромагнита, А | 21-64 | |
Диаметр выводной шпильки d, мм | М6 | |
ДОСТАВКА
Вы можете выбрать любой наиболее удобный способ из перечисленных ниже:
Доставка до терминала ТК «Деловые линии» осуществляется нами бесплатно.
ОПЛАТА
Мы принимаем оплату:
Цены на поставляемые нами товар всегда ниже, чем у наших конкурентов.
Условия гарантийного обслуживания
Гарантия не распространяется на ущерб, причиненный другому оборудованию, работающему вместе с данным изделием.
Центр измерительной техники «Эталонприбор» располагает своим собственным ремонтным сервисом, где Вы можете получить услуги по: ремонту, наладке, калибровке, гарантийному и послегарантийному обслуживанию измерительного оборудования, как приобретенного у нас, так и у других поставщиков. Сервис работает на основе лицензии, выданной Ростехрегулированием РФ.
