Гидрораспределитель золотниковый четырехлинейный В16 предназначен для изменения направления или пуска и остановки потока рабочей жидкости в гидравлических системах.

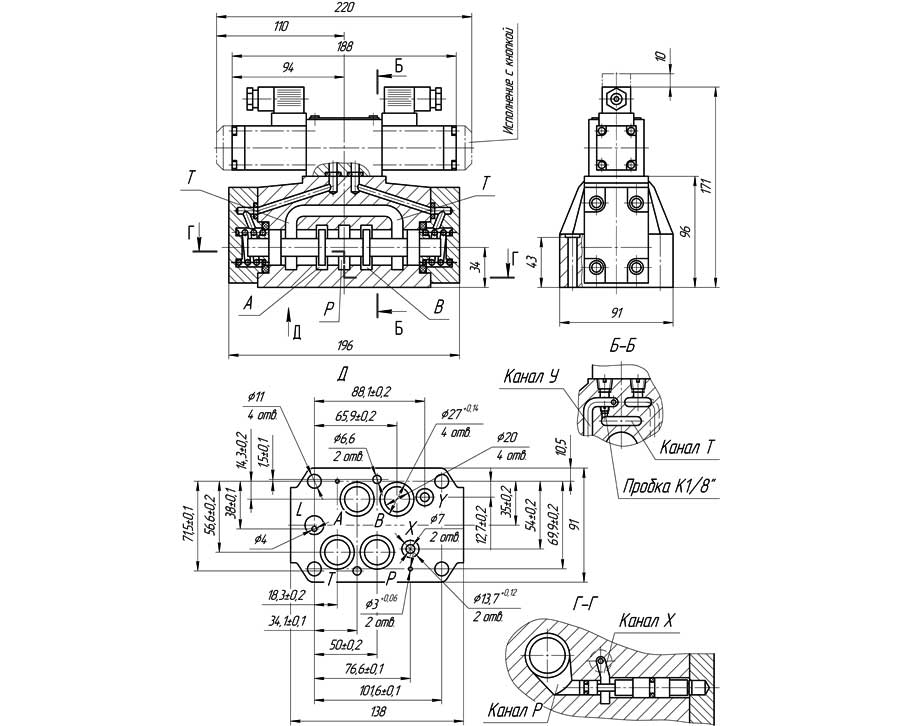
Конструктивная схема гидрораспределителя
Условный проход, мм | 16 |
Давление на выходе, МПа: номинальное максимальное минимальное |
25 28 |
Максимальное давление на сливе, МПа: для гидрораспределителя с независимым сливом из вспомогательного гидрораспределителя для гидрораспределителя, у которого слив управления объединен с основным сливом |
25 6 |
Давление управления, МПа: максимальное минимальное для: трехпозиционных распределителей двухпозиционных с гидравлическим возвратом гидрораспределителя с управлением от основного потока для схем 64, с присоединением обратного клапана | 25 0,8 1,0 0,5 0,5 |
Расход рабочей жидкости на линии Р - А(В), л/мин номинальный для: схемы 94 схем 14, 54, 64 с электрогидравлическим и гидравлическим управлением схемы 54 с ручным управлением схем 14, 64 с ручным управлением остальные схемы |
125 80 63 63 125 |
Структура условного обозначения гидрораспределителя - X1 В X2 16 X3 X4 X5 X6 X7 X8 X9:
Давление на входе, МПа (кгс/см2) | 10 (100) | 25 (250) | 32 (320) |
С электрогидравлическим и гидравлическим управлением с пружинным возвратом золотника: 24, 34, 44, 84, 94, 574, 574А, 574Б | 240 | 180 | 170 |
14, 54, 64, 64А | 160 | 110 | 100 |
54 | 145 | 100 | 90 |
С ручным управлением с пружинным возвратом золотника: 24, 34, 44, 84, 94, 574, 574А | 180 | 180 | 170 |
14, 64 | 115 | 80 | 70 |
54 | 100 | 70 | 65 |
С ручным управлением с фиксацией золотника для всех схем | 180 | 180 | 170 |
ДОСТАВКА
Вы можете выбрать любой наиболее удобный способ из перечисленных ниже:
Доставка до терминала ТК «Деловые линии» осуществляется нами бесплатно.
ОПЛАТА
Мы принимаем оплату:
Цены на поставляемые нами товар всегда ниже, чем у наших конкурентов.
Условия гарантийного обслуживания
Гарантия не распространяется на ущерб, причиненный другому оборудованию, работающему вместе с данным изделием.
Центр измерительной техники «Эталонприбор» располагает своим собственным ремонтным сервисом, где Вы можете получить услуги по: ремонту, наладке, калибровке, гарантийному и послегарантийному обслуживанию измерительного оборудования, как приобретенного у нас, так и у других поставщиков. Сервис работает на основе лицензии, выданной Ростехрегулированием РФ.
