Уровнемер регулятор буйковый УРБ-П1 пневматический предназначен для работы в системах автомати-ческого контроля, управления и регулирования параметров производственных технологических процессов с целью выдачи информации в виде стандартного пневматического сигнала об уровне жидкости, находя-щихся под вакуумметрическим, атмосферным или избыточным давлением.
В качестве обогревательного элемента используется ОУр-1М.
По запросу, доступны любые комплектующие для уровнемера УРБ-П1.
Материалы деталей | ст. 20 12Х18Н10Т |
Предельные значения диапазона измерения | 0,25; 0,4; 0,6; 0,8; 1,0; 1,6; 2,0; 2,5; 3,0; 4,0; 6,0; 8,0; 10,0; |
Диапазон температур измеряемой жидкости, °С | -50…+100 |
Предельно допустимое | 2,5; 4,0; 6,3; 10,0 |
Предельное значение диапа-зона измерения или уровня границы раздела фаз, Н2, м | 0,25; 0,4; 0,6; 0,8; 1,0; 1,6; 2,0; 2,5; 3,0; 4,0; 5,0; 8,0; 10,0 |
H, мм | 208 |
H1, мм | 150 |
Масса (без буйка), кг | 11 |
Длина буйка H2, м | Диаметр буйка, D б, мм |
0,25 | 60 |
0,4 | 60 |
0,6 | 50 |
0,8 | 40 |
1,0 | 4 |
1,6 | 30 |
2,0 | 25 |
2,5 | 25 |
3,0 | 20 |
4,0 | 20 |
6,0 | 16 |
8,0 | 11 |
10,0 | 11 |
Принцип действия уровнемера основан на пневматической силовой компенсации изменения выталкивающей силы, действующей на буек, возникающего при изменении уровня контролируемой среды.
Уровнемеры УРБ-П1 не имеют дополнительной погрешности от измерения рабочего избыточного давления.

Рисунок 1 - общий вид, габаритные, установочные и присоединительные размеры

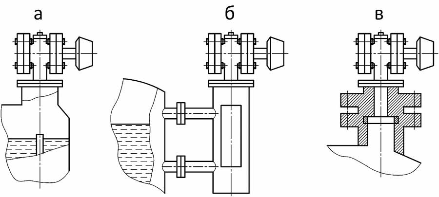
Рисунок 2 - примеры установки уров-немера на объекте
ДОСТАВКА
Вы можете выбрать любой наиболее удобный способ из перечисленных ниже:
Доставка до терминала ТК «Деловые линии» осуществляется нами бесплатно.
ОПЛАТА
Мы принимаем оплату:
Цены на поставляемые нами товар всегда ниже, чем у наших конкурентов.
Условия гарантийного обслуживания
Гарантия не распространяется на ущерб, причиненный другому оборудованию, работающему вместе с данным изделием.
Центр измерительной техники «Эталонприбор» располагает своим собственным ремонтным сервисом, где Вы можете получить услуги по: ремонту, наладке, калибровке, гарантийному и послегарантийному обслуживанию измерительного оборудования, как приобретенного у нас, так и у других поставщиков. Сервис работает на основе лицензии, выданной Ростехрегулированием РФ.
