Запорный клапан СК 21015 предназначен для перекрытия потока рабочей среды на технологических трубопроводах пара и горячей воды ТЭЦ и энергетических установках высоких параметров.
Присоединение к трубопроводу: под приварку.
| Обозначение | Номинальный диаметр DN, мм | Рабочее давление PN, МПа | Температура рабочей среды Т,С |
| СК 21015-010 | 10 | 25,0 | +545 |
| СК 21015-020 | 20 | ||
| СК 21015-040 | 40 | ||
| СК 21015-050 | 50 | 13,7 | +560 |
| СК 21015-065 | 65 | 9,8 | +540 |

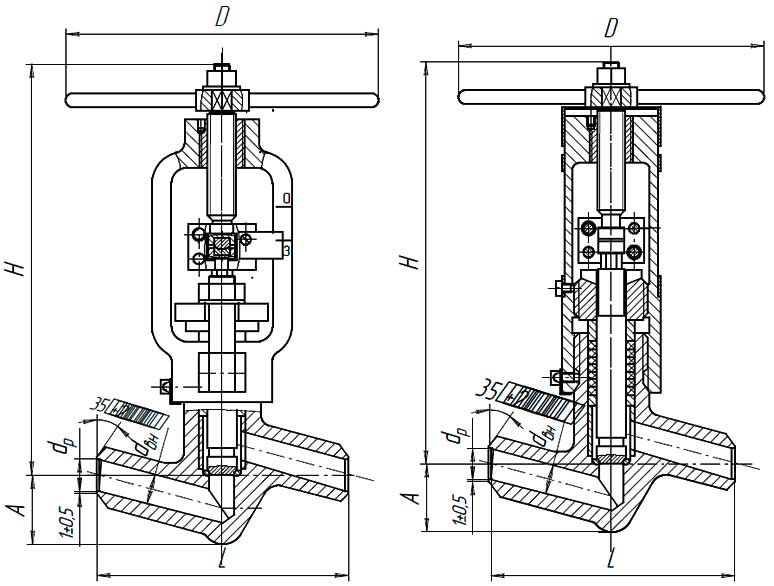
Запорный клапан СК 21015 - исполнение №1

Запорный клапан СК 21015 - исполнение №2

Запорный клапан СК 21015 - исполнение №3
ДОСТАВКА
Вы можете выбрать любой наиболее удобный способ из перечисленных ниже:
Доставка до терминала ТК «Деловые линии» осуществляется нами бесплатно.
ОПЛАТА
Мы принимаем оплату:
Цены на поставляемые нами товар всегда ниже, чем у наших конкурентов.
Условия гарантийного обслуживания
Гарантия не распространяется на ущерб, причиненный другому оборудованию, работающему вместе с данным изделием.
Центр измерительной техники «Эталонприбор» располагает своим собственным ремонтным сервисом, где Вы можете получить услуги по: ремонту, наладке, калибровке, гарантийному и послегарантийному обслуживанию измерительного оборудования, как приобретенного у нас, так и у других поставщиков. Сервис работает на основе лицензии, выданной Ростехрегулированием РФ.
