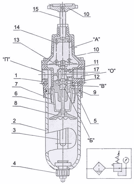
Блок подготовки воздуха П-ФРК предназначен для очистки сжатого воздуха от капельной влаги и твердых частиц, удаления конденсата и автоматического поддержания величины давления на заданном уровне в пневматических приводах и системах промышленного оборудования. Блок содержит фильтр-влагоотделитель и редукционный клапан. Пневмосхема Тхнические характеристики Обозначение Параметр Усл.проход,мм Присоединение Расход м3/мин Масса, кг П-ФРК-10-0-1... 10 К3/8" 0,63-0,16 1,4 П-ФРК-10-0-2... 10 G3/8-A" 0,63-0,16 1,4 П-ФРК-16-0-1... 16 К1/2" 1,6-0,16 1,4 П-ФРК-16-0-2... 16 G1/2-A" 1,6-0,16 1,4 Резьбы К3/8" и К1/2" выполнены по ГОСТ 6111-52. Параметры Типоразмеры П-ФРК-10-0... П-ФРК-10-1... П-ФРК-16-0... П-ФРК-16-1... Номинальное давление, МПа 1,0 Минимальное давление на входе, МПа 0,1 Расход воздуха при давлении на выходе 0,4МПа, м3/мин: номин., не менее / миним., не более 0,63 / 0,16 0,63 / 0,16 1,6 / 0,16 1,6 / 0,16 Абсолютная тонкость фильтрации, мкм 40 Степень влагоотделения, %, не менее 90 Диапазон насройки давления, МПа 0,05-0,65 0,05-0,90 0,05-0,62 0,05-0,90 Изменение редуцированного давления на выходе при изменении расхода, МПа, не более 0,04 0,04 0,05 0,05 Изменение редуцированного давления на выходе при изменении давления на входе, МПа, не более 0,035 Превышение давления на выходе клапана над давлением настройки, при котором открывается клапан сброса воздуха в атмосферу, МПа, не более 0,06 Полезная вместимость резервуара для сбора конденсата, см3, не менее 100 Отвод конденсата Полуавтоматический с возможностью ручного Габаритный чертеж Устройство и работа Блок подготовки воздуха состоит из фильтра-влагоотделителя центробежного действия, выполненного в корпусе 1 с пневмоклапаном редукционным. К корпусу крепится резервуар для конденсата 2. Фильтр-влагоотделитель имеет металлический резервуар с прозрачным глазком 3, который позволяет следить за количеством конденсата. В нижней части резервуара расположен конденсатоотводчик 4 со штуцером для подсоединения дренажной трубки. Сжатый воздух, подведенный к отверстию «П» в корпусе, попадает в крыльчатку 5 и получает нисходящее вращательное движение. Капли воды и масла, а также крупные твердые частицы, находящиеся в сжатом воздухе, под действием центробежных сил отбрасываются на стенки и опускаются вниз в спокойную зону, отделенную заслонкой 8. Очищенный от жидкой влаги воздух проходит через металлокерамический фильтрующий элемент 6, очищается от твердых загрязнений и поступает в зону «В». Блоки подготовки воздуха обеспечивают сброс конденсата при снятии давления и закрываются при повышении давления в его резервуаре выше минимального. Эти блоки сбрасывают конденсат при перемещении дренажной трубки со штуцером снизу вверх. Указания по применению Блоки кондиционирования рассчитаны для работы на сжатом воздухе давлением от 0,1 МПа до 1,0МПа, очищенном не грубее 12 класса по ГОСТ 17433. Варианты исполнения Обозначение Варианты исполнения П-ФРК-ХХ-x-x-x-xxx-x По условному проходу, мм П-ФРК-xx-Х-x-x-xxx-x По диапазону настройки давления: П-ФРК-xx-x-Х-x-xxx-x По присоединению: П-ФРК-xx-x-x-Х-xxx-x Исполнение резервуара: П-ФРК-xx-x-x-x-ХХХ-Х Климатическое исполнение (УХЛ, О) и категория размещения (4) по ГОСТ 15150 Пример обозначения при заказе Пример записи условного обозначения блока с условным проходом 10 мм, диапазоном настройки 0,05-0,63 МПа, присоединительной резьбой К3/8" по ГОСТ 6111, с металлическим резервуаром, климатическое исполнение УХЛ, категория размещения 4: 
П-ФРК 10-1-1...
П-ФРК 10-1-2...
П-ФРК 16-1-1...
П-ФРК 16-1-2...
Резьбы G3/8-А" и G1/2-А" выполнены по ГОСТ 6357-81.

К корпусу крепится крыльчатка 5, фильтрующий элемент 6, дефлектор 7 и заслонка 8. С целью обеспечения герметичности установлено резиновое кольцо 9.
Пневмоклапан редукционный состоит из общего корпуса 1. В корпусе 1 и стакане 10 размещены дроссельный клапан 11 с пружиной 12, мембранный узел 13 с клапаном сброса, воздействующая на мембранный узел нагрузочная пружина 14 с нагрузочным винтом 15 и ручкой 16. Подмембранная полость и выходное отверстие «О» сообщены между собой с помощью трубки 17.
Удаление воды и других загрязнений из фильтра-влагоотделителя происходит при открывании полуавтоматического конденсатоотводчика 4 при отсутствии давления в резервуаре 2. Во время работы, когда резервуар находится под давлением, упругий элемент деформируется и перекрывает дренажное отверстие.
Конденсатоотводчик возможно открыть вручную перемещением дренажной трубки со штуцером 11 снизу вверх.
В блоке подготовки воздуха дополнительно установлен дефлектор 7, препятствующий попаданию на поверхность фильтрующего элемента загрязнений, удаленных из потока под действием центробежных сил.
Принцип действия пневмоклапана редукционного в блоке подготовки воздуха основан на изменении проходного сечения дроссельного клапана при изменении давления и расхода на входе (отверстие «П») и служит для поддержания таким образом постоянного давления на выходе (отверстие «О»).
При понижении выходного давления по сравнению с давлением настройки мембрана под действием нагрузочной пружины прогибается и отжимает дроссельный клапан, увеличивая проход для воздуха и тем самым расход его и давление, а при повышении выходного давления дроссельный клапан прикрывается.
Дроссельный клапан выполнен разгруженным от действия давления на входе. Подклапанная полость «Б» изолирована от входного отверстия и соединена через сверление в дроссельном клапане с выходной полостью. Сбалансированный дроссельный клапан обеспечивает большую точность поддержания давления на выходе.
При повышении давления на выходе выше давления настройки мембранный узел перемещается вверх, и дроссельный клапан закрывается. В результате сжатый воздух (избыточное давление) через сверление в клапане сброса и через отверстие «А» в стакане пневмоклапана сбрасывается в атмосферу, давление на выходе блока подготовки воздуха снижается до величины, определяемой настройкой нагрузочной пружины.
Настроечное устройство блока подготовки воздуха (пневмоклапана редукционного) обеспечивает плавное изменение давления на выходе в пределах всего диапазона настройки.
Блоки подготовки должны устанавливаться в местах, удобных для осмотра, обслуживания и контроля параметров в вертикальном положении (отклонение от вертикали не более 5 градусов), непосредственно на трубопроводе или с использованием крепёжных отверстий.
При монтаже блоков подготовки, стрелка на их корпусе должна совпадать с направлением движения воздушного потока.
Климатическое исполнение УХЛ и О, категория размещения 4 по ГОСТ 15150.
0-от 0,05 до 0,63 МПа
1-от 0,05 до 0,9 МПа
1-с конической дюймовой резьбой по ГОСТ 6111-52
2-с трубной резьбой по ГОСТ 6357-81
0-металлический
1-прозрачный
П-ФРК-10-0-1-0-УХЛ4 ТУ4151-005-00221287-97
ДОСТАВКА
Вы можете выбрать любой наиболее удобный способ из перечисленных ниже:
Доставка до терминала ТК «Деловые линии» осуществляется нами бесплатно.
ОПЛАТА
Мы принимаем оплату:
Цены на поставляемые нами товар всегда ниже, чем у наших конкурентов.
Условия гарантийного обслуживания
Гарантия не распространяется на ущерб, причиненный другому оборудованию, работающему вместе с данным изделием.
Центр измерительной техники «Эталонприбор» располагает своим собственным ремонтным сервисом, где Вы можете получить услуги по: ремонту, наладке, калибровке, гарантийному и послегарантийному обслуживанию измерительного оборудования, как приобретенного у нас, так и у других поставщиков. Сервис работает на основе лицензии, выданной Ростехрегулированием РФ.
