Фильтр-регулятор (модульное устройство) П-МК04 предназначен для очистки сжатого воздуха от капельной влаги и твердых частей, удаления конденсата, регулирования и автоматического поддержания величины давления на заданном уровне.
Технические характеристики
Параметр | Нормы для типоразмеров | ||
П-МК04.06 | П-МК04.10 | П-МК04.16 | |
Условный проход, мм | 6 | 10 | 16 |
Расход воздуха при давлении 0,63 МПа, м3/мин,: максимальный, не менее |
|
|
|
Абсолютная тонкость фильтрации, мкм | 25; 40 | ||
Степень влагоотделения, %, не менее | 95 | ||
Диапазон настройки давления, МПа | 0,04 - 0,8 | 0,05 - 1,0 | 0,05 - 1,0 |
Присоединительная резьба: исп.4 | К1/4" |
|
|
Масса, кг, не более | 0,33 | 1,4 | 1,7 |
Указания по применению
Модули применяются в пневмосистемах, работающих на сжатом воздухе с давлением от 0,16 до 1,0 МПа, очищенном не грубее 12 класса загрязненности по ГОСТ 17433-80.
Вибропрочность и виброустойчивость модулей соответствует II степени жесткости ГОСТ28988-91.
Варианты исполнения
Климатическое исполнение УХЛ и О, категория размещения 4 по ГОСТ 15150.
Обозначение | Варианты исполнения |
П-МК04-ХХxx x | Условный проход, мм: 6; 10; 16 |
П-МК04-xxХx x | Класс загрязненности сжатого воздуха на выходе: 4; 6; 8 |
П-МК04-xxxХ x | Вид присоединительных отверстий: |
П-МК04-xxxx Х | Климатическое исполнение и категория размещения |
Вид климатического исполнения по ГОСТ15150-69 УХЛ4 для районов с умеренным климатом, 04 для районов с тропическим климатом.
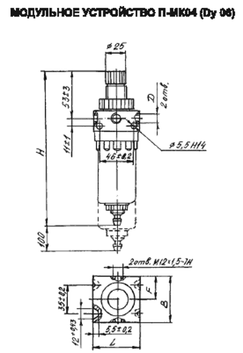
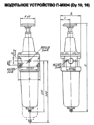
Габаритные размеры и присоединение


Обозначение | Размеры, мм | Присоединение | Масса, кг | ||
L | B | H | |||
П-МК04-0643 | 56 | 56 | 200 | М12х1,5-7Н | 0,33 |
П-МК04-1041 | 85 | 85 | 510 | М16х1,5-7Н | 1,7 |
П-МК04-1083 | 85 | 85 | 360 | М16х1,5-7Н | 1,4 |
П-МК04-1641 | 85 | 85 | 510 | М22х1,5-7Н | 1,7 |
П-МК04-1643 | 85 | 85 | 360 | М22х1,5-7Н | 1,4 |
П-МК04-1661 | 85 | 85 | 510 | М22х1,5-7Н | 1,7 |
П-МК04-1663 | 85 | 85 | 360 | М22х1,5-7Н | 1,4 |
П-МК04-1681 | 85 | 85 | 510 | М22х1,5-7Н | 1,7 |
П-МК04-1683 | 85 | 85 | 360 | М22х1,5-7Н | 1,4 |
Пример обозначения при заказе
ДОСТАВКА
Вы можете выбрать любой наиболее удобный способ из перечисленных ниже:
Доставка до терминала ТК «Деловые линии» осуществляется нами бесплатно.
ОПЛАТА
Мы принимаем оплату:
Цены на поставляемые нами товар всегда ниже, чем у наших конкурентов.
Условия гарантийного обслуживания
Гарантия не распространяется на ущерб, причиненный другому оборудованию, работающему вместе с данным изделием.
Центр измерительной техники «Эталонприбор» располагает своим собственным ремонтным сервисом, где Вы можете получить услуги по: ремонту, наладке, калибровке, гарантийному и послегарантийному обслуживанию измерительного оборудования, как приобретенного у нас, так и у других поставщиков. Сервис работает на основе лицензии, выданной Ростехрегулированием РФ.
