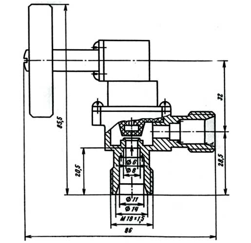
Клапан запорный УФ 96390-006 предназначен для управления потоками рабочих сред в системах терморегулирования космического летального аппарата (КЛА).

Схема - габаритные размеры клапана
| Параметры | Значение |
| Рабочая среда | газ, вода, теплоносители |
| Давление рабочей среды на входе, МПа (кгс/см2) | 0,05-0,4 (0,5-4,0) |
| Давление на выходе, МПа(кгс/см2) | 0,2 (2,0) |
| Температура рабочего тела и окружающей конструкции,°С | от +1 до +50 |
| Расход, кг/ч | 108 |
| Масса, кг | 0,21 |
Запорный клапан широко используется в составе КЛА "Мир", "Прогресс".
ДОСТАВКА
Вы можете выбрать любой наиболее удобный способ из перечисленных ниже:
Доставка до терминала ТК «Деловые линии» осуществляется нами бесплатно.
ОПЛАТА
Мы принимаем оплату:
Цены на поставляемые нами товар всегда ниже, чем у наших конкурентов.
Условия гарантийного обслуживания
Гарантия не распространяется на ущерб, причиненный другому оборудованию, работающему вместе с данным изделием.
Центр измерительной техники «Эталонприбор» располагает своим собственным ремонтным сервисом, где Вы можете получить услуги по: ремонту, наладке, калибровке, гарантийному и послегарантийному обслуживанию измерительного оборудования, как приобретенного у нас, так и у других поставщиков. Сервис работает на основе лицензии, выданной Ростехрегулированием РФ.
